ГОСТ 28795-90 Мука пшеничная. Физические характеристики теста. Определение реологических свойств с помощью альвеографа
ГОСТ
Скачать ГОСТ в PDF или DOC бесплатно
Основная информация
Обозначение:
ГОСТ 28795-90
Статус:
Утратил силу в РФ
Тип:
ГОСТ
Название русское:
Мука пшеничная. Физические характеристики теста. Определение реологических свойств с помощью альвеографа
Название английское:
Wheat flour. Physical characteristics of doughs. Determination of rheological properties using an alveograph
Даты и сроки
Дата издания:
06-01-97
Дата введения в действие:
06-30-91
Дата завершения срока действия:
03-01-01
Применение и описание
Область и условия применения:
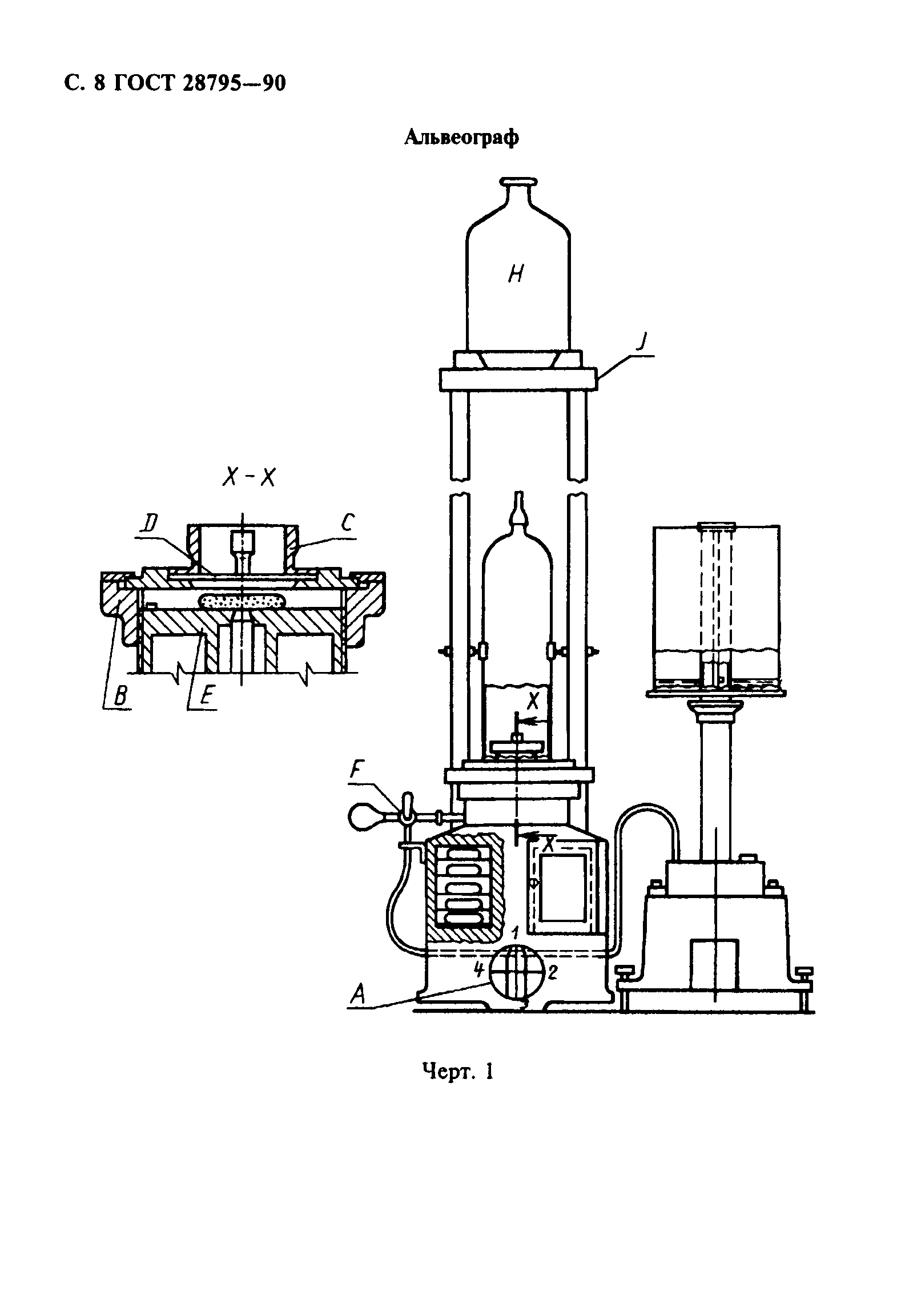
Настоящий стандарт устанавливает метод, использующий альвеограф для определения реологических свойств теста из пшеничной муки и используется в экспортно-импортных операциях, а также в научно-исследовательских работах
Связи и замены
Заменяющий:
-
Изменения и переиздания
Список изменений:
№0 от (рег. ) «Поправка к изменению»
Описание стандарта
ГОСТ 28795-90 Мука пшеничная. Физические характеристики теста. Определение реологических свойств с помощью альвеографа
Страницы стандарта













