ГОСТ Р 54298-2010 Системы экологического менеджмента. Порядок сертификации систем экологического менеджмента на соответствие ГОСТ Р ИСО 14001-2007
ГОСТ Р
Скачать ГОСТ в PDF или DOC бесплатно
Основная информация
Обозначение:
ГОСТ Р 54298-2010
Статус:
Действует
Тип:
ГОСТ Р
Название русское:
Системы экологического менеджмента. Порядок сертификации систем экологического менеджмента на соответствие ГОСТ Р ИСО 14001-2007
Название английское:
Environmental management systems. Certification procedure of environmental management systems to accordance with GOST R ISO 14001-2007
Даты и сроки
Дата издания:
05-29-12
Дата введения в действие:
09-01-11
Дата завершения срока действия:
-
Применение и описание
Область и условия применения:
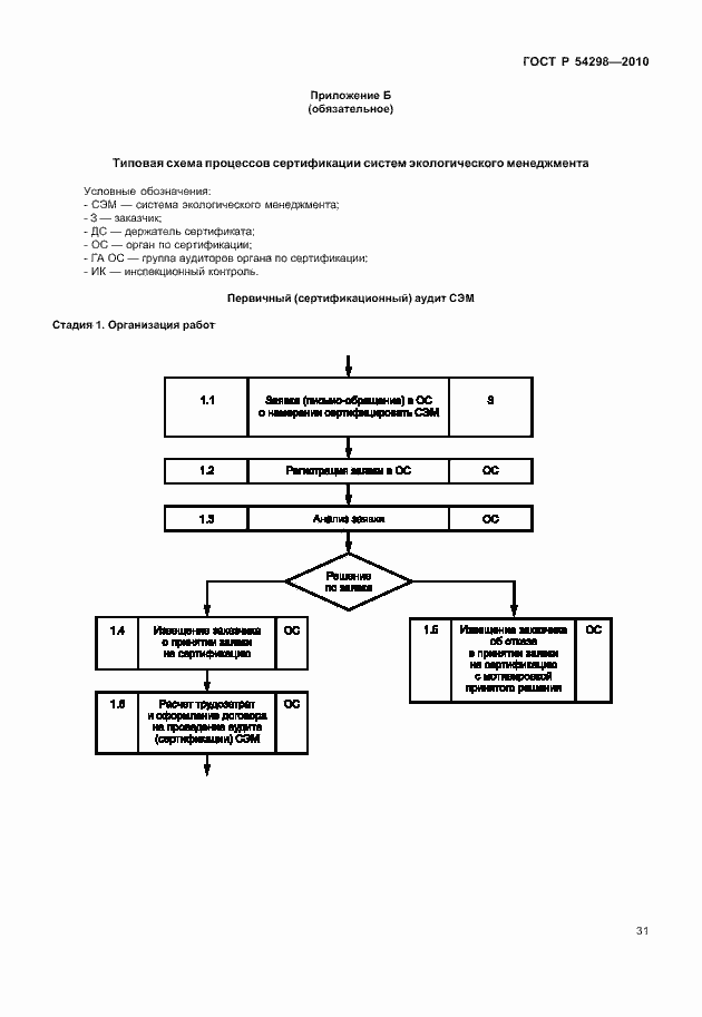
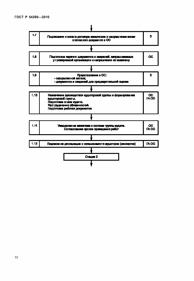
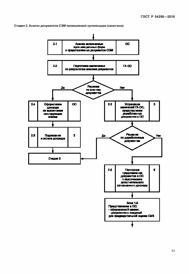
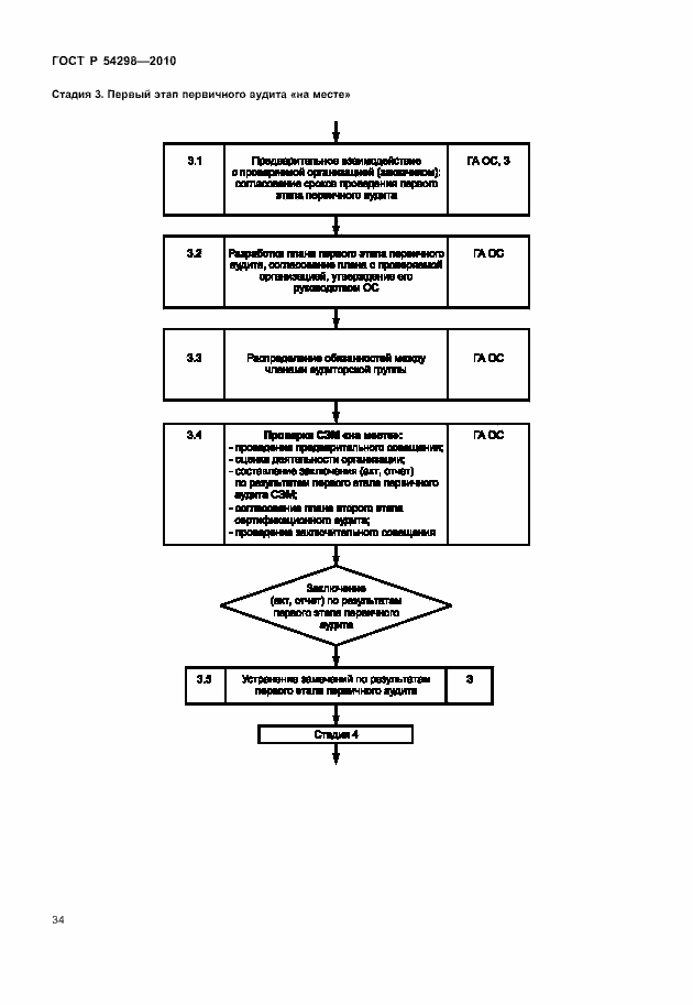
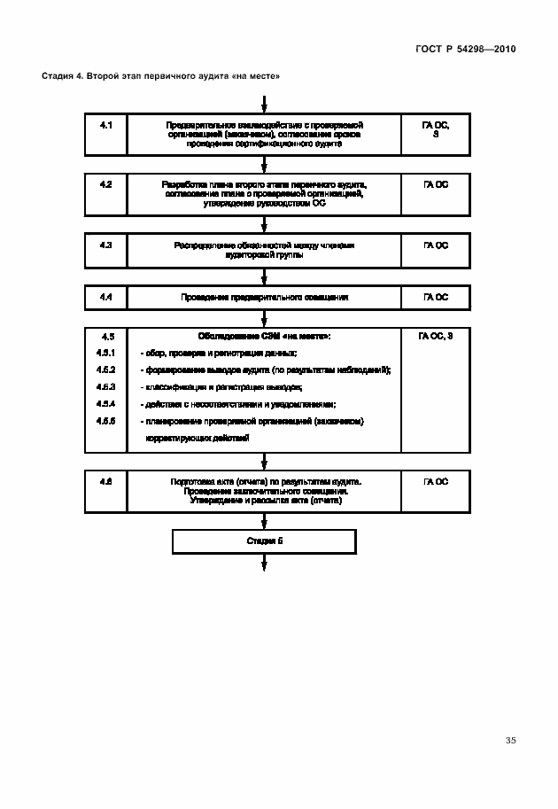
Настоящий стандарт устанавливает порядок сертификации систем экологического менеджмента на соответствие требований ГОСТ Р ИСО14001-2007 (ИСО 14001:2004) в системе добровольной сертификации. Стандарт предназначен для применения: - органами по сертификации систем экологического менеджмента; - органами по сертификации интегрированных систем менеджмента, если в своем составе они содержат системы экологического менеджмента; - организациями, претендующими на получение сертификата соответствия системы экологического менеджмента; - организациями, претендующими на получение сертификата соответствия интегрированных систем менеджмента, если в своем составе они содержат системы экологического менеджмента; - организациями, держателями сертификатов на системы экологического менеджмента и интегрированных систем менеджмента, если в своем составе они содержат системы экологического менеджмента
Связи и замены
Заменяющий:
-
Описание стандарта
ГОСТ Р 54298-2010 Системы экологического менеджмента. Порядок сертификации систем экологического менеджмента на соответствие ГОСТ Р ИСО 14001-2007
Страницы стандарта





































































