ГОСТ 19792-87 Мед натуральный. Технические условия
ГОСТ
Скачать ГОСТ в PDF или DOC бесплатно
Основная информация
Обозначение:
ГОСТ 19792-87
Статус:
Заменен
Тип:
ГОСТ
Название русское:
Мед натуральный. Технические условия
Название английское:
Honey natural. Specifications
Даты и сроки
Дата издания:
04-04-88
Дата введения в действие:
01-01-89
Дата завершения срока действия:
07-01-02
Применение и описание
Область и условия применения:
Настоящий стандарт распространяется на натуральный мед - продукт переработки медоносными пчелами нектара или пади, представляющий собой сиропообразную жидкость или закристаллизованную массу различной консистенции и размера кристаллов, бесцветную (белого цвета) или с окраской желтых, коричневых или бурых тонов, заготовляемый, прошедший товарную подработку и реализуемый
Связи и замены
Заменяющий:
ГОСТ 19792-2001
Взамен:
ГОСТ 19792-74
Изменения и переиздания
Список изменений:
№1 от (рег. ) «Срок действия продлен» №2 от (рег. ) «Срок действия продлен»
Описание стандарта
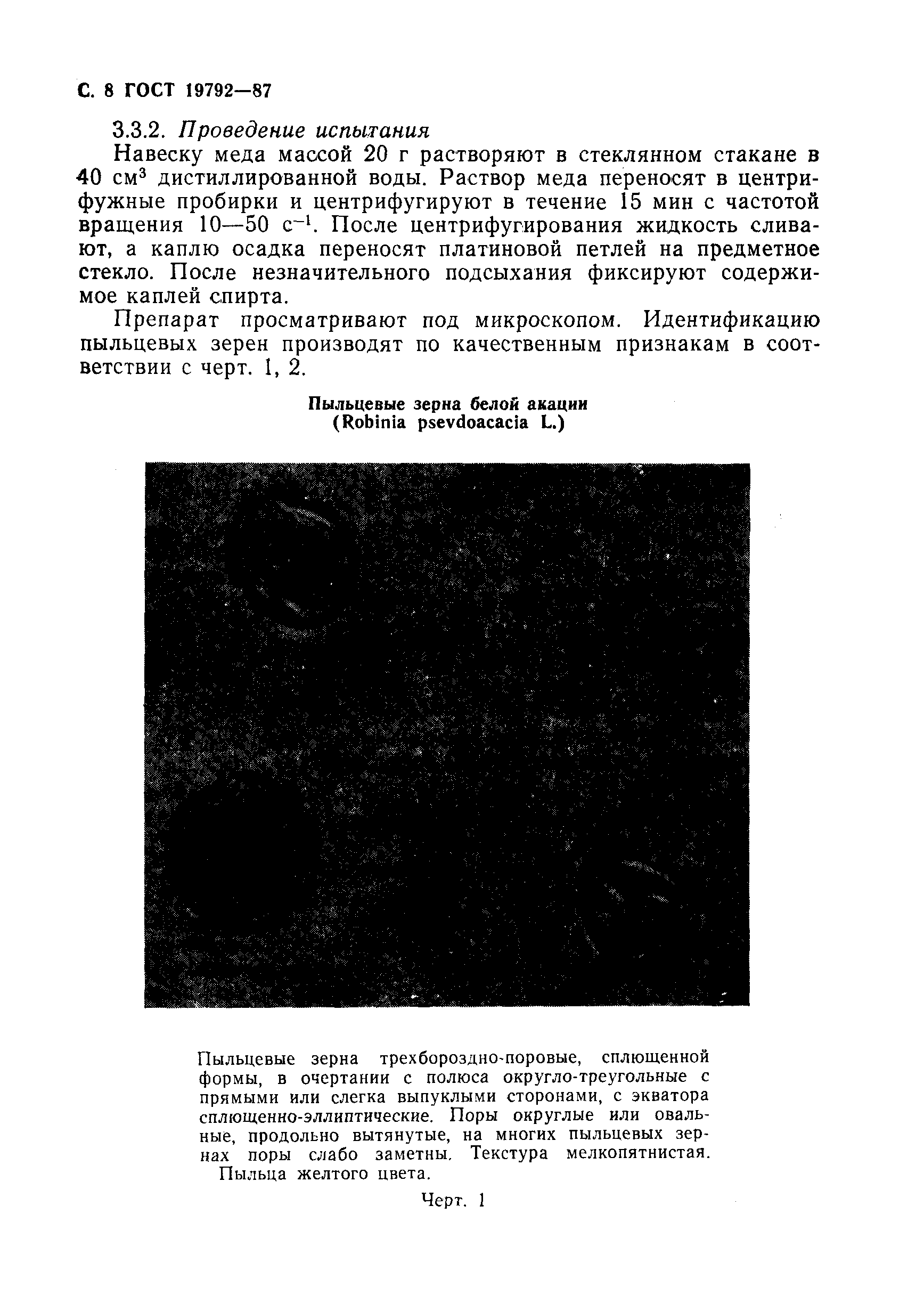
ГОСТ 19792-87 Мед натуральный. Технические условия
Страницы стандарта



























