ГОСТ 24975.2-89 Этилен и пропилен. Методы определения серы
ГОСТ
Скачать ГОСТ в PDF или DOC бесплатно
Основная информация
Обозначение:
ГОСТ 24975.2-89
Статус:
Действует
Тип:
ГОСТ
Название русское:
Этилен и пропилен. Методы определения серы
Название английское:
Ethylene and propylene. Method for determination of sulphur
Даты и сроки
Дата издания:
03-26-90
Дата введения в действие:
01-01-91
Дата завершения срока действия:
-
Применение и описание
Область и условия применения:
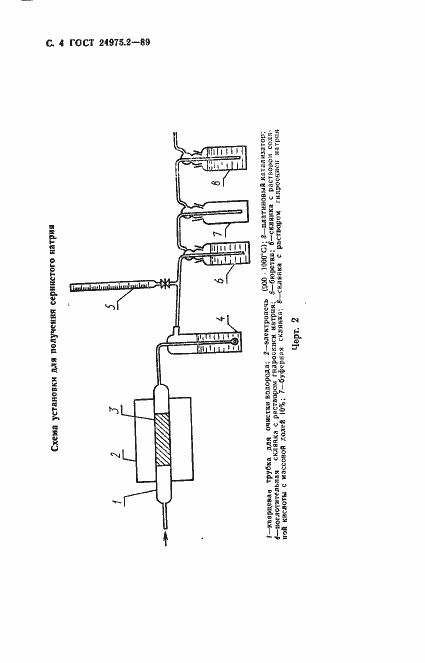
Настоящий стандарт распространяется на этилен и пропилен и устанавливает три метода определения серы; гидрирования, сжигания в кислородно-водородном пламени и микрокулонометрический
Связи и замены
Заменяющий:
-
Взамен:
ГОСТ 24975.2-81
Описание стандарта
ГОСТ 24975.2-89 Этилен и пропилен. Методы определения серы
Страницы стандарта


















