ГОСТ 23863-79 Продукты лесохимические. Методы определения температуры размягчения
ГОСТ
Скачать ГОСТ в PDF или DOC бесплатно
Основная информация
Обозначение:
ГОСТ 23863-79
Статус:
Действует
Тип:
ГОСТ
Название русское:
Продукты лесохимические. Методы определения температуры размягчения
Название английское:
Wood chemical products. Methods for determination of the softening temperature
Даты и сроки
Дата издания:
02-01-97
Дата введения в действие:
01-01-81
Дата завершения срока действия:
-
Применение и описание
Область и условия применения:
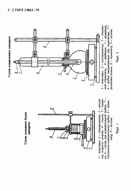
Настоящий стандарт распространяется на лесохимические продукты и устанавливает методы определения температуры размягчения канифоли и ее производных: метод А - определение на аппарате типа ИКАР с помощью трубки и стержня; метод Б - определение по кольцу и шару. Методы основаны на определении температуры, при которой происходит выдавливание продукта под действием груза определенной массы вследствие его нагрева и размягчения
Связи и замены
Заменяющий:
-
Изменения и переиздания
Список изменений:
№1 от (рег. ) «Срок действия продлен» №2 от (рег. ) «Поправка»
Описание стандарта
ГОСТ 23863-79 Продукты лесохимические. Методы определения температуры размягчения
Страницы стандарта









