ГОСТ 4545-88 Вещества взрывчатые бризантные. Методы определения характеристик чувствительности к удару
ГОСТ
Скачать ГОСТ в PDF или DOC бесплатно
Основная информация
Обозначение:
ГОСТ 4545-88
Статус:
Действует
Тип:
ГОСТ
Название русское:
Вещества взрывчатые бризантные. Методы определения характеристик чувствительности к удару
Название английское:
Explosives, high. Sensitivity characteristics determination for impact
Даты и сроки
Дата издания:
12-08-88
Дата введения в действие:
06-30-89
Дата завершения срока действия:
-
Применение и описание
Область и условия применения:
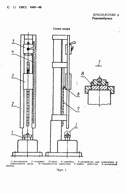
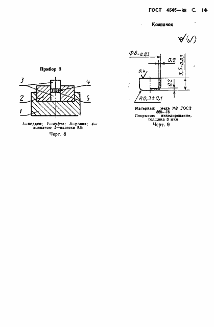
Настоящий стандарт распространяется на бризантные взрывчатые вещества (ВВ) и устанавливает методы определения характеристик чуствительности к удару: - нижнего предела чувствительности к удару твердых ВВ на приборе 2; - частости взрывов твердых ВВ в приборе 1 - только для ВВ, нижний предел чувствительности к удару грузом массой 10 кг которых составляет 50 мм и более; - частости взрывов жидких ВВ в приборе 3; - нижнего предела чувствительности к удару жидких ВВ в приборе 3
Связи и замены
Заменяющий:
-
Взамен:
ГОСТ 4545-80
Изменения и переиздания
Список изменений:
№1 от (рег. ) «Срок действия продлен»
Описание стандарта
ГОСТ 4545-88 Вещества взрывчатые бризантные. Методы определения характеристик чувствительности к удару
Страницы стандарта

















