ГОСТ 5984-99 Вещества взрывчатые. Методы определения бризантности
ГОСТ
Скачать ГОСТ в PDF или DOC бесплатно
Основная информация
Обозначение:
ГОСТ 5984-99
Статус:
Действует
Тип:
ГОСТ
Название русское:
Вещества взрывчатые. Методы определения бризантности
Название английское:
Explosives. Methods for determination of brisance
Даты и сроки
Дата регистрации:
10-08-99
Дата издания:
09-01-02
Дата введения в действие:
01-01-01
Дата завершения срока действия:
-
Применение и описание
Область и условия применения:
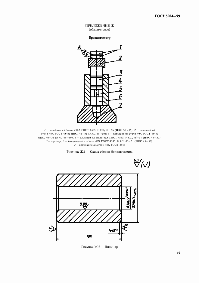
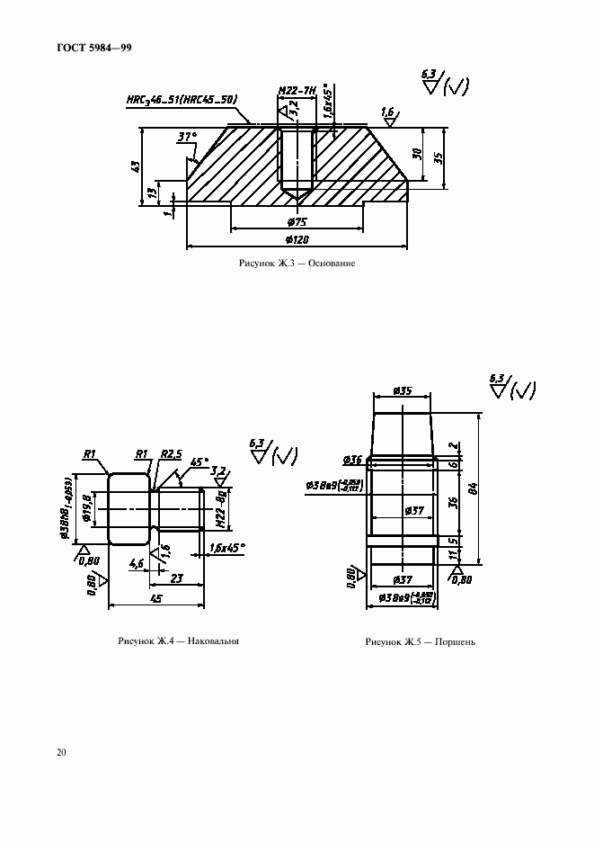
Настоящий стандарт распространяется на взрывчатые вещества и устанавливает следующие методы определения бризантности:по обжатию свинцовых цилиндров; по импульсу взрыва на баллистическом маятнике; по обжатию медных крешерных цилиндрических столбиков
Связи и замены
Заменяющий:
-
Взамен:
ГОСТ 5984-80
Описание стандарта
ГОСТ 5984-99 Вещества взрывчатые. Методы определения бризантности
Страницы стандарта
























