ГОСТ Р ИСО 10142-2016 Материалы углеродные для производства алюминия. Прокаленный кокс. Определение прочности зерен с использованием лабораторной вибрационной мельницы
ГОСТ Р ИСО
Скачать ГОСТ в PDF или DOC бесплатно
Основная информация
Обозначение:
ГОСТ Р ИСО 10142-2016
Статус:
Действует
Тип:
ГОСТ Р ИСО
Название русское:
Материалы углеродные для производства алюминия. Прокаленный кокс. Определение прочности зерен с использованием лабораторной вибрационной мельницы
Название английское:
Carbonaceous materials used in the production of aluminium. Calcined coke. Determination of grain stability using a laboratory vibration mill
Даты и сроки
Дата издания:
06-27-19
Дата введения в действие:
07-01-17
Дата завершения срока действия:
-
Применение и описание
Область и условия применения:
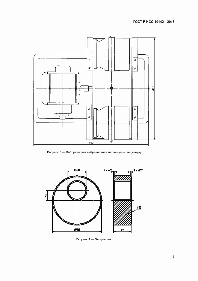
Настоящий стандарт распространяется на прокаленные коксы, используемые в углеродных материалах для производства алюминия, и устанавливает метод определения прочности зерен с использованием лабораторной вибрационной мельницы, заполненной стальными шариками. Прокаленный кокс с низкой механической прочностью может разрушаться в процессе смешивания. Нестабильность размеров зерен кокса приводит к ухудшению качества обожженных блоков
Связи и замены
Заменяющий:
-
Описание стандарта
ГОСТ Р ИСО 10142-2016 Материалы углеродные для производства алюминия. Прокаленный кокс. Определение прочности зерен с использованием лабораторной вибрационной мельницы
Страницы стандарта







