ГОСТ Р ИСО 12981-1-2014 Материалы углеродные для производства алюминия. Определение способности прокаленного кокса реагировать с диоксидом углерода. Часть 1. Метод потери массы
ГОСТ Р ИСО
Скачать ГОСТ в PDF или DOC бесплатно
Основная информация
Обозначение:
ГОСТ Р ИСО 12981-1-2014
Статус:
Действует
Тип:
ГОСТ Р ИСО
Название русское:
Материалы углеродные для производства алюминия. Определение способности прокаленного кокса реагировать с диоксидом углерода. Часть 1. Метод потери массы
Название английское:
Carbonaceous materials for the production of aluminium. Calcined coke. Determination of the reactivity to carbon dioxide. Part 1. Loss in mass method
Даты и сроки
Дата издания:
11-25-19
Дата введения в действие:
07-01-15
Дата завершения срока действия:
-
Применение и описание
Область и условия применения:
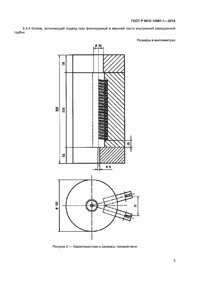
Настоящий стандарт устанавливает метод определения способности прокаленного нефтяного кокса, используемого для изготовления анодов в производстве алюминия, реагировать с диоксидом углерода
Связи и замены
Заменяющий:
-
Описание стандарта
ГОСТ Р ИСО 12981-1-2014 Материалы углеродные для производства алюминия. Определение способности прокаленного кокса реагировать с диоксидом углерода. Часть 1. Метод потери массы
Страницы стандарта










