ГОСТ Р 40.005-96 Система сертификации ГОСТ Р. Регистр систем качества. Инспекционный контроль за сертифицированными системами качества и производствами
ГОСТ Р
Скачать ГОСТ в PDF или DOC бесплатно
Основная информация
Обозначение:
ГОСТ Р 40.005-96
Статус:
Заменен
Тип:
ГОСТ Р
Название русское:
Система сертификации ГОСТ Р. Регистр систем качества. Инспекционный контроль за сертифицированными системами качества и производствами
Название английское:
Gost R. Certification system. Quality system register. Certified quality systems and productions surveillance
Даты и сроки
Дата издания:
09-16-96
Дата введения в действие:
07-01-96
Дата завершения срока действия:
12-01-00
Применение и описание
Область и условия применения:
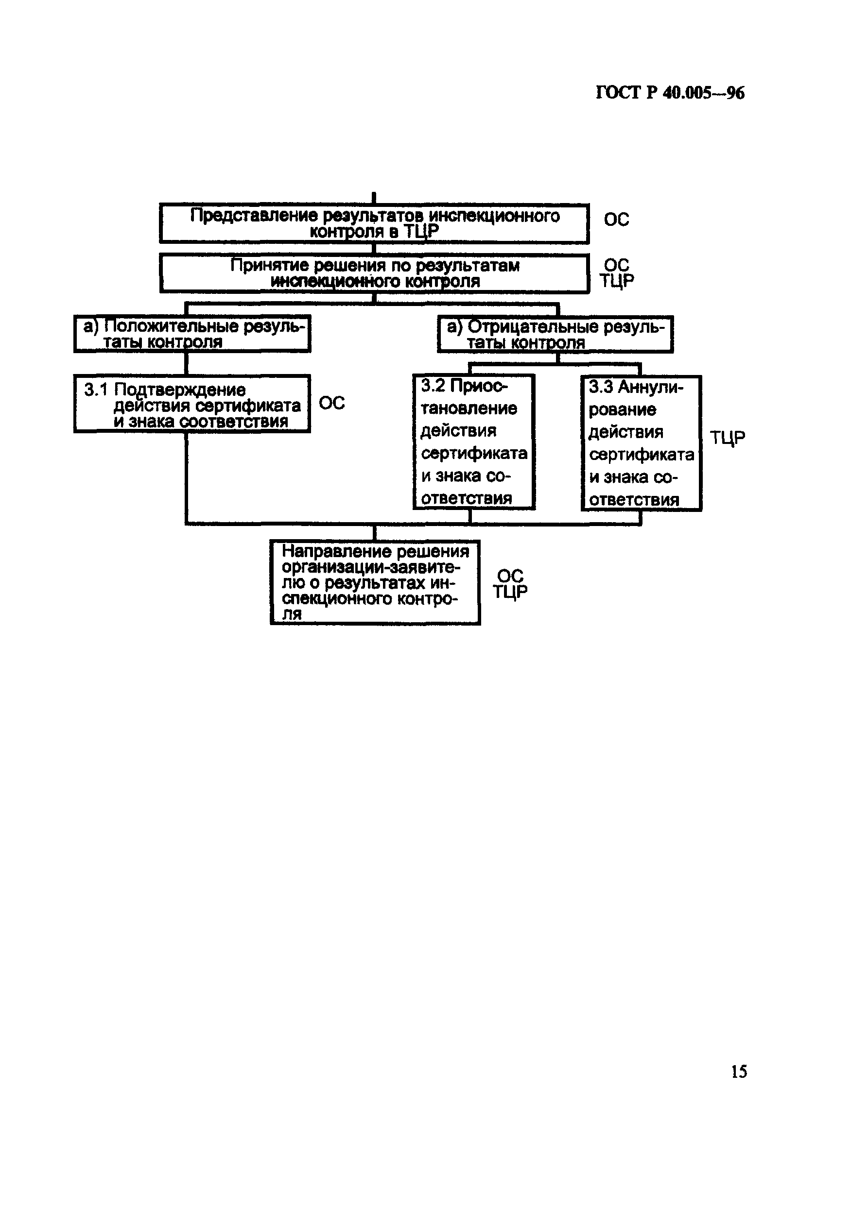
Настоящий стандарт устанавливает основные правила и порядок проведения инспекционного контроля, а также правила передачи работ по инспекционному контролю другим органам по сертификации. Настоящий стандарт применяется при проведении работ по добровольной и обязательной сертификации в Системе сертификации ГОСТ Р. Требования настоящего стандарта являются обязательными для участников Регистра систем качества Госстандарта России (далее - Регистра) при проведении инспекционного контроля сертифицированных систем качества и производств организаций различных отраслей промышленности/секторов экономики с целью подтверждения соответствия сертифицированных систем качества (производств) требованиям ГОСТ Р ИСО 9001 - ГОСТ Р ИСО 9003, а также требованиям договора (контракта)
Связи и замены
Заменяющий:
ГОСТ Р 40.005-2000
Описание стандарта
ГОСТ Р 40.005-96 Система сертификации ГОСТ Р. Регистр систем качества. Инспекционный контроль за сертифицированными системами качества и производствами
Страницы стандарта


























