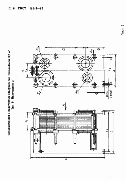
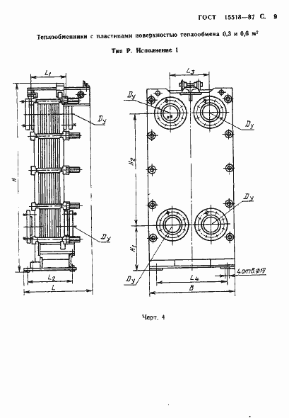
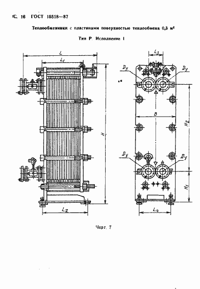
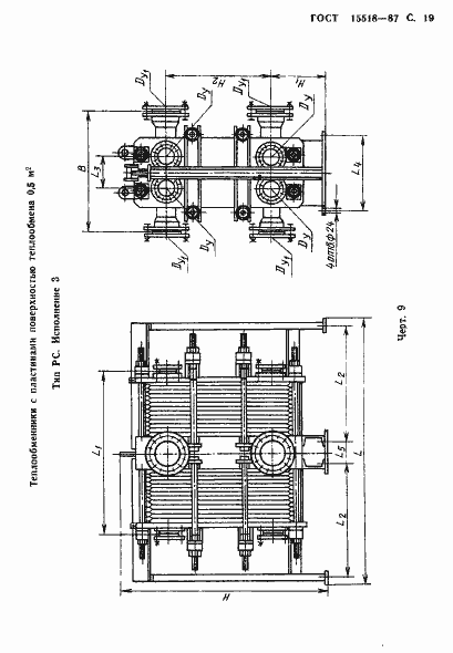
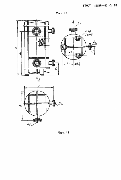
ГОСТ 15518-87 Аппараты теплообменные пластинчатые. Типы, параметры и основные размеры
ГОСТ
Скачать ГОСТ в PDF или DOC бесплатно
Основная информация
Обозначение:
ГОСТ 15518-87
Статус:
Действует
Тип:
ГОСТ
Название русское:
Аппараты теплообменные пластинчатые. Типы, параметры и основные размеры
Название английское:
Plate heat exchanges. Types, parameters and basic dimensions
Даты и сроки
Дата издания:
11-01-98
Дата введения в действие:
01-01-90
Дата завершения срока действия:
-
Применение и описание
Область и условия применения:
Настоящий стандарт распространяется на теплообменные пластинчатые аппараты поверхностью теплообмена от 1 до 800 м кв, работающие при избыточном давлении не ниже 0,002 МПа и температурах рабочих сред от минус 70 до плюс 200 град. С
Связи и замены
Заменяющий:
-
Взамен:
ГОСТ 15518-83
Изменения и переиздания
Список изменений:
№1 от (рег. ) «Срок действия продлен»
Описание стандарта
ГОСТ 15518-87 Аппараты теплообменные пластинчатые. Типы, параметры и основные размеры
Страницы стандарта






























