ГОСТ 27468-92 Оборудование тепломассообменное стационарных дистилляционных опреснительных установок. Общие технические требования
ГОСТ
Скачать ГОСТ в PDF или DOC бесплатно
Основная информация
Обозначение:
ГОСТ 27468-92
Статус:
Действует
Тип:
ГОСТ
Название русское:
Оборудование тепломассообменное стационарных дистилляционных опреснительных установок. Общие технические требования
Название английское:
Heat and mass exchange equipment of stationary distillation desalting plants. Specifications
Даты и сроки
Дата издания:
07-14-92
Дата введения в действие:
01-01-93
Дата завершения срока действия:
-
Применение и описание
Область и условия применения:
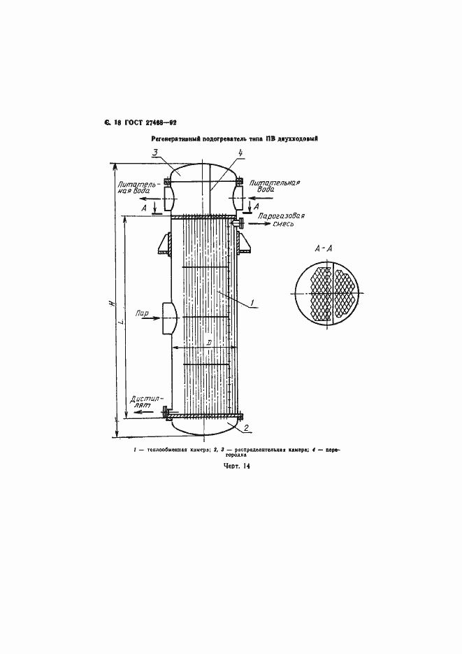
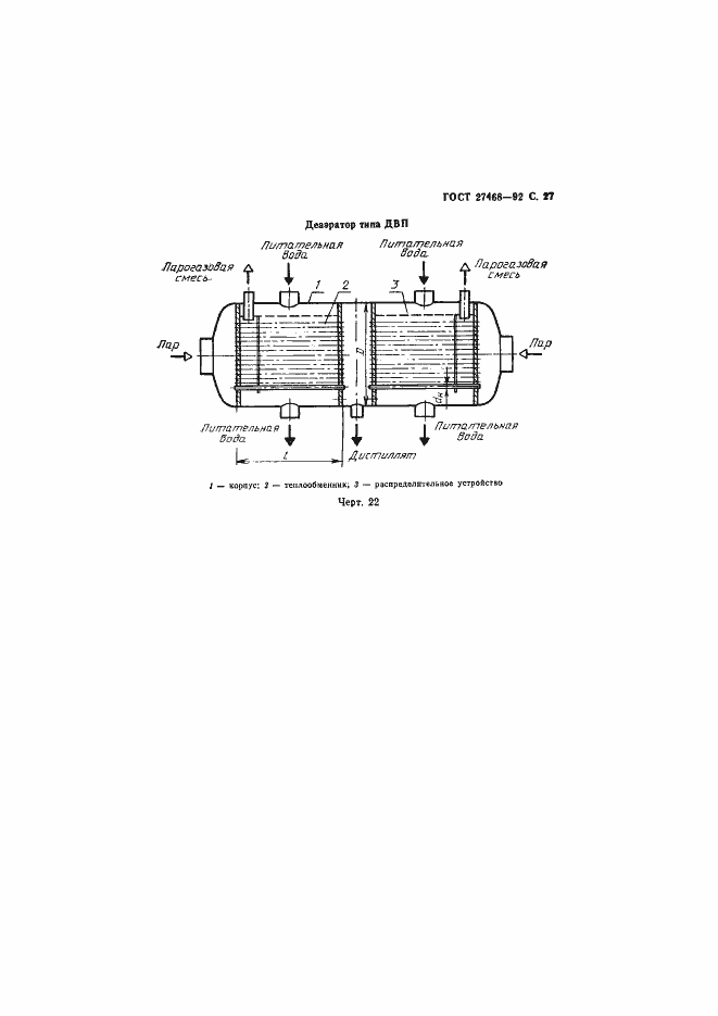
Настоящий стандарт распространяется на тепломассообменное оборудование стационарных дистилляционных опреснительных установок (ДОУ), предназначенных для производства пресной воды и дистиллята из природных и сточных вод. Стандарт устанавливает общие технические требования к испарителям, регенеративным подогревателям и вакуумным деаэраторам питательной воды, охладителям дистиллята и конденсаторам вторичного пара. Стандарт не распространяется на испарители, включаемые в состав энергоблоков тепловых и атомных электрических станций, а также на испарители ДОУ, размещаемые на морских судах и других транспортных средствах
Связи и замены
Заменяющий:
-
Взамен:
ГОСТ 27468-87;ГОСТ 27796-88;ОСТ 95 10094-85;ОСТ 95 10144-85;ОСТ 95 10254-86
Описание стандарта
ГОСТ 27468-92 Оборудование тепломассообменное стационарных дистилляционных опреснительных установок. Общие технические требования
Страницы стандарта




























































































