ГОСТ 28115-89 Аппараты и установки сушильные. Классификация
ГОСТ
Скачать ГОСТ в PDF или DOC бесплатно
Основная информация
Обозначение:
ГОСТ 28115-89
Статус:
Действует
Тип:
ГОСТ
Название русское:
Аппараты и установки сушильные. Классификация
Название английское:
Drying apparatus and plants. Classification
Даты и сроки
Дата издания:
07-31-89
Дата введения в действие:
01-01-90
Дата завершения срока действия:
-
Применение и описание
Область и условия применения:
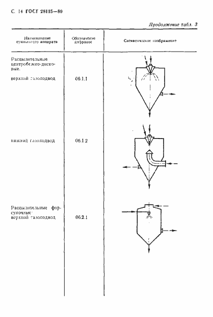
Настоящий стандарт распространяется на сушильные аппараты и установки, предназначенные для сыпучих, пастообразных и текучих материалов в химической, химико-фармацевтической, микробиологической и других отраслях промышленности и устанавливает классификацию типовых сушильных аппаратов и установок
Связи и замены
Заменяющий:
-
Описание стандарта
ГОСТ 28115-89 Аппараты и установки сушильные. Классификация
Страницы стандарта
























