ГОСТ 28759.3-90 Фланцы сосудов и аппаратов стальные приварные встык. Конструкция и размеры
ГОСТ
Скачать ГОСТ в PDF или DOC бесплатно
Основная информация
Обозначение:
ГОСТ 28759.3-90
Статус:
Заменен
Тип:
ГОСТ
Название русское:
Фланцы сосудов и аппаратов стальные приварные встык. Конструкция и размеры
Название английское:
Steel butt welded flanges of vessels and apparatus. Design and dimensions
Даты и сроки
Дата издания:
10-01-05
Дата введения в действие:
01-01-92
Дата завершения срока действия:
07-01-22
Применение и описание
Область и условия применения:
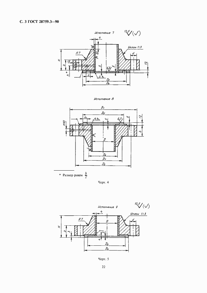
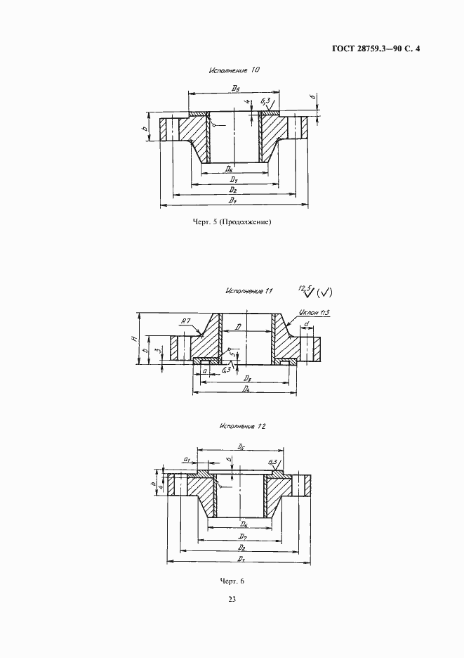
Настоящий стандарт распростаняется на стальные приварные встык фланцы для сосудов и аппаратов с внутренним диаметром от 400 до 4000 мм и наружным базовым размером (днища, трубы) от 426 до 720 мм с условным давлением от 0,6 до 6,3 МПа, при температуре рабочей среды от минус 70 град. С до плюс 540 град. С, предназначенные для работы в химической, нефтехимической, нефтеперерабатывающей и других отраслях промышленности
Связи и замены
Заменяющий:
ГОСТ 28759.3-2022
Взамен:
ОСТ 26-427-79
Описание стандарта
ГОСТ 28759.3-90 Фланцы сосудов и аппаратов стальные приварные встык. Конструкция и размеры
Страницы стандарта











