ГОСТ Р 52857.4-2007 Сосуды и аппараты. Нормы и методы расчета на прочность. Расчет на прочность и герметичность фланцевых соединений
ГОСТ Р
Скачать ГОСТ в PDF или DOC бесплатно
Основная информация
Обозначение:
ГОСТ Р 52857.4-2007
Статус:
Отменен
Тип:
ГОСТ Р
Название русское:
Сосуды и аппараты. Нормы и методы расчета на прочность. Расчет на прочность и герметичность фланцевых соединений
Название английское:
Vessels and apparatus. Norms and methods of strength calculation. Stength and leak-tightness calculation of flange joints
Даты и сроки
Дата издания:
05-20-09
Дата введения в действие:
04-01-08
Дата завершения срока действия:
08-01-18
Применение и описание
Область и условия применения:
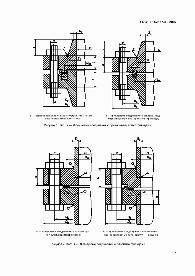
Настоящий стандарт устанавливает нормы и методы расчета на прочность и герметичность фланцевых соединений сосудов и аппаратов из углеродистых и легированных сталей, цветных металлов (алюминия, меди, титана и их сплавов), применяемых в химической, нефтехимической, нефтеперерабатывающей и смежных отраслях промышленности, работающих в условиях однократных и многократных нагрузок под внутренним избыточным давлением или вакуумом, под действием осевых сил и изгибающих моментов. Допускается также использование настоящего стандарта для расчета фланцевых соединений трубопроводов. Нормы и методы расчета на прочность и герметичность фланцевых соединений применимы при условии, что технические требования к конструированию, изготовлению и контролю удовлетворяют требованиям нормативных документов. Настоящий стандарт распространяется на расчет фланцевых соединений с фланцами приварными встык, плоскими приварными и свободными с плоскими, восьмигранными и овальными прокладками, которые полностью расположены внутри окружности, ограниченной отверстиями под шпильки (болты). Настоящий стандарт применяется совместно с ГОСТ Р 52857.1
Связи и замены
Заменяющий:
-
Изменения и переиздания
Список изменений:
№0 от (рег. ) «Текстовое изменение; Изменено заглавие»
Описание стандарта
ГОСТ Р 52857.4-2007 Сосуды и аппараты. Нормы и методы расчета на прочность. Расчет на прочность и герметичность фланцевых соединений
Страницы стандарта








































