ГОСТ 34233.3-2017 Сосуды и аппараты. Нормы и методы расчета на прочность. Укрепление отверстий в обечайках и днищах при внутреннем и наружном давлениях. Расчет на прочность обечаек и днищ при внешних статических нагрузках на штуцер
ГОСТ
Скачать ГОСТ в PDF или DOC бесплатно
Основная информация
Обозначение:
ГОСТ 34233.3-2017
Статус:
Действует
Тип:
ГОСТ
Название русское:
Сосуды и аппараты. Нормы и методы расчета на прочность. Укрепление отверстий в обечайках и днищах при внутреннем и наружном давлениях. Расчет на прочность обечаек и днищ при внешних статических нагрузках на штуцер
Название английское:
Vessels and apparatus.Norms and methods of strength calculation. Reinforcement of openings in shells and bottoms under internal and external pressure. Strength calculation of shells and bottoms under external static loads on the nozzle
Даты и сроки
Дата регистрации:
07-14-17
Дата издания:
05-29-19
Дата введения в действие:
08-01-18
Дата завершения срока действия:
-
Применение и описание
Область и условия применения:
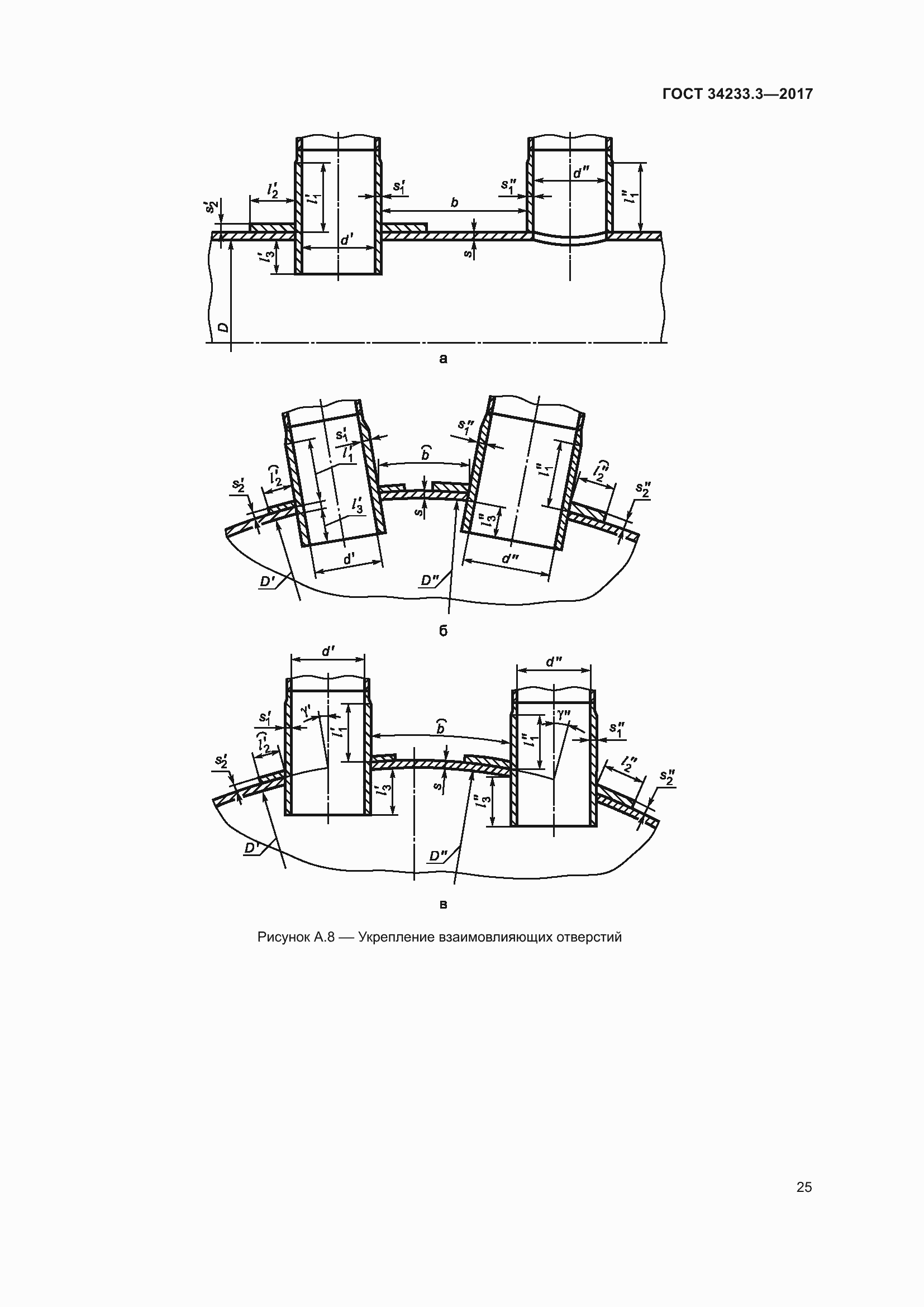
Настоящий стандарт устанавливает нормы и методы расчета на прочность укрепления отверстий в цилиндрических и конических обечайках, конических переходах, выпуклых днищах и крышках сосудов и аппаратов, работающих под действием внутреннего избыточного или наружного давления, применяемых в химической, нефтегазоперерабатывающей и других отраслях промышленности. В настоящем стандарте также приведен метод расчета на прочность обечаек и днищ при совместном действии внутреннего избыточного давления и внешних статических нагрузок на штуцер и нагружения, вызванного стесненностью температурных деформаций. Настоящий стандарт применяется совместно с ГОСТ 34233.1 и действителен при условии, что толщины стенок обечаек, переходов и днищ отвечают условиям прочности и устойчивости в соответствии с ГОСТ 34233.2
Связи и замены
Заменяющий:
-
Описание стандарта
ГОСТ 34233.3-2017 Сосуды и аппараты. Нормы и методы расчета на прочность. Укрепление отверстий в обечайках и днищах при внутреннем и наружном давлениях. Расчет на прочность обечаек и днищ при внешних статических нагрузках на штуцер
Страницы стандарта












































Приложение №1: Поправка к ГОСТ 34233.3-2017 Обозначение: Поправка к ГОСТ 34233.3-2017 Дата введения в действие: 29.12.2021

Приложение №2: Поправка к ГОСТ 34233.3-2017 Обозначение: Поправка к ГОСТ 34233.3-2017 Дата введения в действие: 26.01.2022
