ГОСТ 15489.2-93 Угли каменные. Метод определения коэффициента размолоспособности по Хардгрову
ГОСТ
Скачать ГОСТ в PDF или DOC бесплатно
Основная информация
Обозначение:
ГОСТ 15489.2-93
Статус:
Заменен
Тип:
ГОСТ
Название русское:
Угли каменные. Метод определения коэффициента размолоспособности по Хардгрову
Название английское:
Hard coals. Determination of Hardgrove grindability index
Даты и сроки
Дата регистрации:
10-21-93
Дата издания:
03-14-95
Дата введения в действие:
01-01-96
Дата завершения срока действия:
06-01-19
Применение и описание
Область и условия применения:
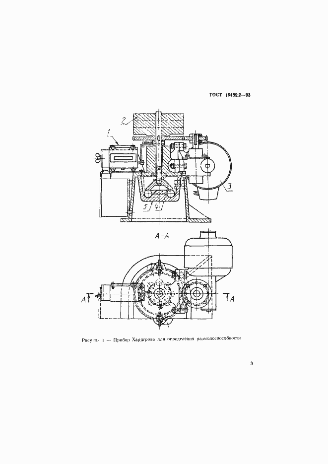
Настоящий стандарт устанавливает метод определения коэффициента размолоспособности каменного угля на приборе Хардгрова, а также методы тарирования прибора Хардгрова и подготовки стандартных проб угля
Связи и замены
Заменяющий:
ГОСТ 15489.2-2018
Описание стандарта
ГОСТ 15489.2-93 Угли каменные. Метод определения коэффициента размолоспособности по Хардгрову
Страницы стандарта














