ГОСТ 2013-75 Угли каменные. Ускоренный метод определения спекаемости
ГОСТ
Скачать ГОСТ в PDF или DOC бесплатно
Основная информация
Обозначение:
ГОСТ 2013-75
Статус:
Действует
Тип:
ГОСТ
Название русское:
Угли каменные. Ускоренный метод определения спекаемости
Название английское:
Hard coals. Accelerated method for the determination of clinkering
Даты и сроки
Дата издания:
03-26-75
Дата введения в действие:
01-01-76
Дата завершения срока действия:
-
Применение и описание
Область и условия применения:
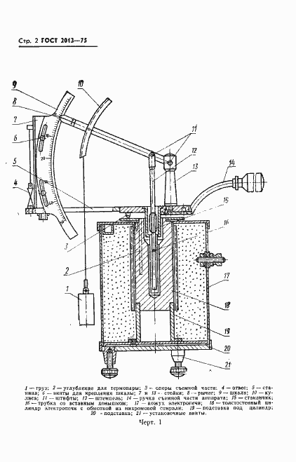
Настоящий стандарт распространяется на каменные угли и устанавливает ускоренный метод определения спекаемости. Сущность метода заключается в нагревании смеси угля с песком при температуре 500-500 град.С и определении спекающей способности угля по степени его размягчения
Связи и замены
Заменяющий:
-
Взамен:
ГОСТ 2013-49
Описание стандарта
ГОСТ 2013-75 Угли каменные. Ускоренный метод определения спекаемости
Страницы стандарта








