ГОСТ 2408.3-90 Топливо твердое. Методы определения кислорода
ГОСТ
Скачать ГОСТ в PDF или DOC бесплатно
Основная информация
Обозначение:
ГОСТ 2408.3-90
Статус:
Заменен
Тип:
ГОСТ
Название русское:
Топливо твердое. Методы определения кислорода
Название английское:
Solid fuel. Methods for the determination of oxygen content
Даты и сроки
Дата введения в действие:
01-01-91
Дата завершения срока действия:
01-01-97
Связи и замены
Заменяющий:
ГОСТ 2408.3-95
Взамен:
ГОСТ 2408.3-75
Описание стандарта
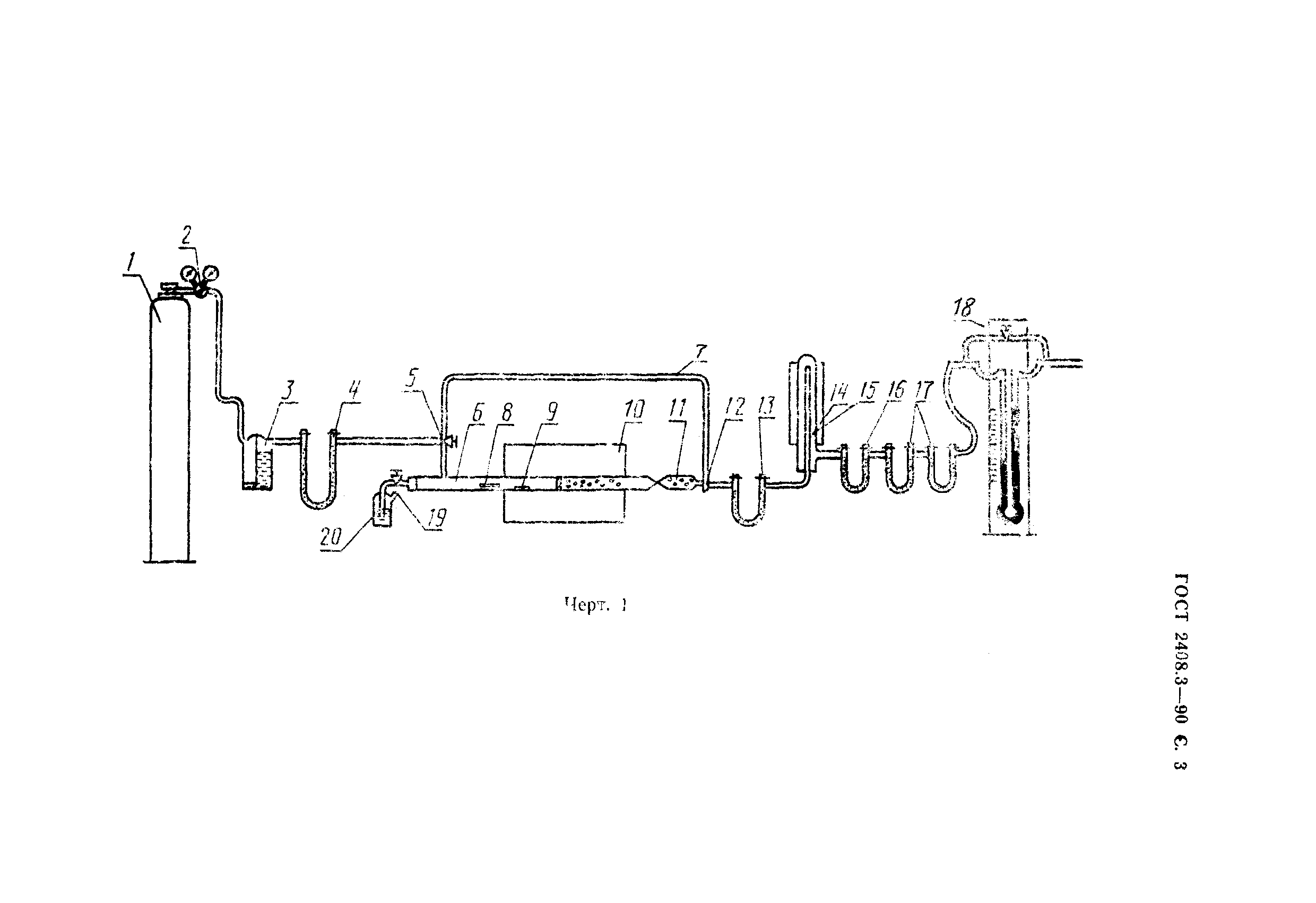
ГОСТ 2408.3-90 Топливо твердое. Методы определения кислорода
Страницы стандарта















