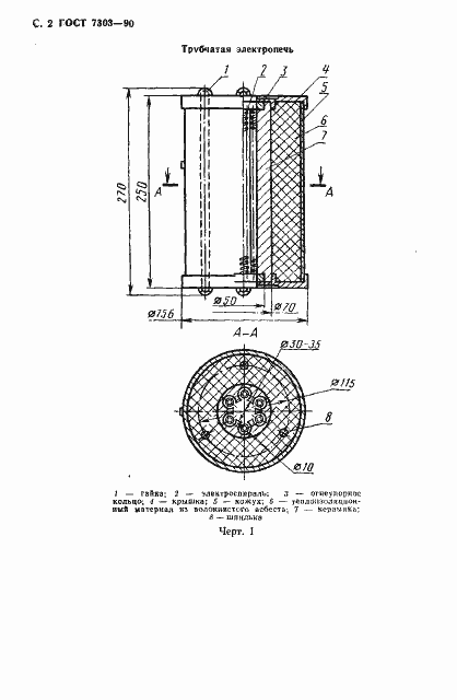
ГОСТ 7303-90 Антрацит. Метод определения объемного выхода летучих веществ
ГОСТ
Скачать ГОСТ в PDF или DOC бесплатно
Основная информация
Обозначение:
ГОСТ 7303-90
Статус:
Утратил силу в РФ
Тип:
ГОСТ
Название русское:
Антрацит. Метод определения объемного выхода летучих веществ
Название английское:
Anthracite. Method for the determination of volatile matter volume yield
Даты и сроки
Дата издания:
12-04-90
Дата введения в действие:
06-30-91
Дата завершения срока действия:
08-16-23
Применение и описание
Область и условия применения:
Настоящий стандарт распространяется на антрацит и продукты термической переработки топлив, в которых выход летучих веществ составляет менее 8%
Связи и замены
Заменяющий:
-
Взамен:
ГОСТ 7303-77
Описание стандарта
ГОСТ 7303-90 Антрацит. Метод определения объемного выхода летучих веществ
Страницы стандарта









