ГОСТ 9516-92 Уголь. Метод прямого весового определения влаги в аналитической пробе
ГОСТ
Скачать ГОСТ в PDF или DOC бесплатно
Основная информация
Обозначение:
ГОСТ 9516-92
Статус:
Действует
Тип:
ГОСТ
Название русское:
Уголь. Метод прямого весового определения влаги в аналитической пробе
Название английское:
Coal. Determination of moisture in the analysis sample. Direct gravimetric method
Даты и сроки
Дата издания:
06-02-92
Дата введения в действие:
01-01-93
Дата завершения срока действия:
-
Применение и описание
Область и условия применения:
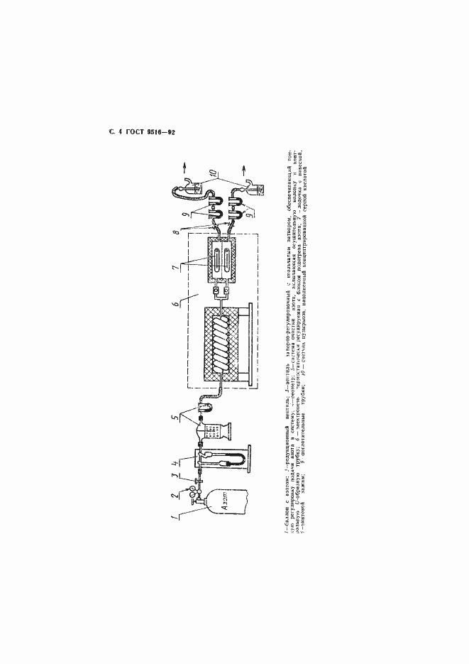
Настоящий стандарт устанавливает весовой метод определения влаги в аналитической пробе каменного и бурого угля, антрацитов и лигнитов
Связи и замены
Заменяющий:
-
Взамен:
ГОСТ 9516-60
Описание стандарта
ГОСТ 9516-92 Уголь. Метод прямого весового определения влаги в аналитической пробе
Страницы стандарта









