ГОСТ 33619-2015 Угли бурые, каменные и антрацит. Стандартный метод определения прочности на сбрасывание
ГОСТ
Скачать ГОСТ в PDF или DOC бесплатно
Основная информация
Обозначение:
ГОСТ 33619-2015
Статус:
Действует
Тип:
ГОСТ
Название русское:
Угли бурые, каменные и антрацит. Стандартный метод определения прочности на сбрасывание
Название английское:
Brow coals, hard coals and anthracite. Method for determination of drop shatter test
Даты и сроки
Дата регистрации:
10-27-15
Дата издания:
04-06-16
Дата введения в действие:
04-01-17
Дата завершения срока действия:
-
Применение и описание
Область и условия применения:
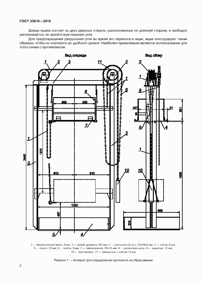
Настоящий стандарт распространяется на угли бурые и лигниты, угли каменные, антрациты (далее-угли) и устанавливает метод определения прочности угля на сбрасывание. Метод включает определение относительного стабильного размера и хрупкости угля, сортированного по крупности
Связи и замены
Заменяющий:
-
Описание стандарта
ГОСТ 33619-2015 Угли бурые, каменные и антрацит. Стандартный метод определения прочности на сбрасывание
Страницы стандарта







