ГОСТ Р 70548-2022 Угли каменные. Метод определения выхода жидкоподвижных продуктов из пластической массы угля
ГОСТ Р
Скачать ГОСТ в PDF или DOC бесплатно
Основная информация
Обозначение:
ГОСТ Р 70548-2022
Статус:
Действует
Тип:
ГОСТ Р
Название русское:
Угли каменные. Метод определения выхода жидкоподвижных продуктов из пластической массы угля
Название английское:
Coals. Method for determination of moving-liquid products yield from plastic mass of coal
Даты и сроки
Дата издания:
12-21-22
Дата введения в действие:
10-26-23
Дата завершения срока действия:
-
Применение и описание
Область и условия применения:
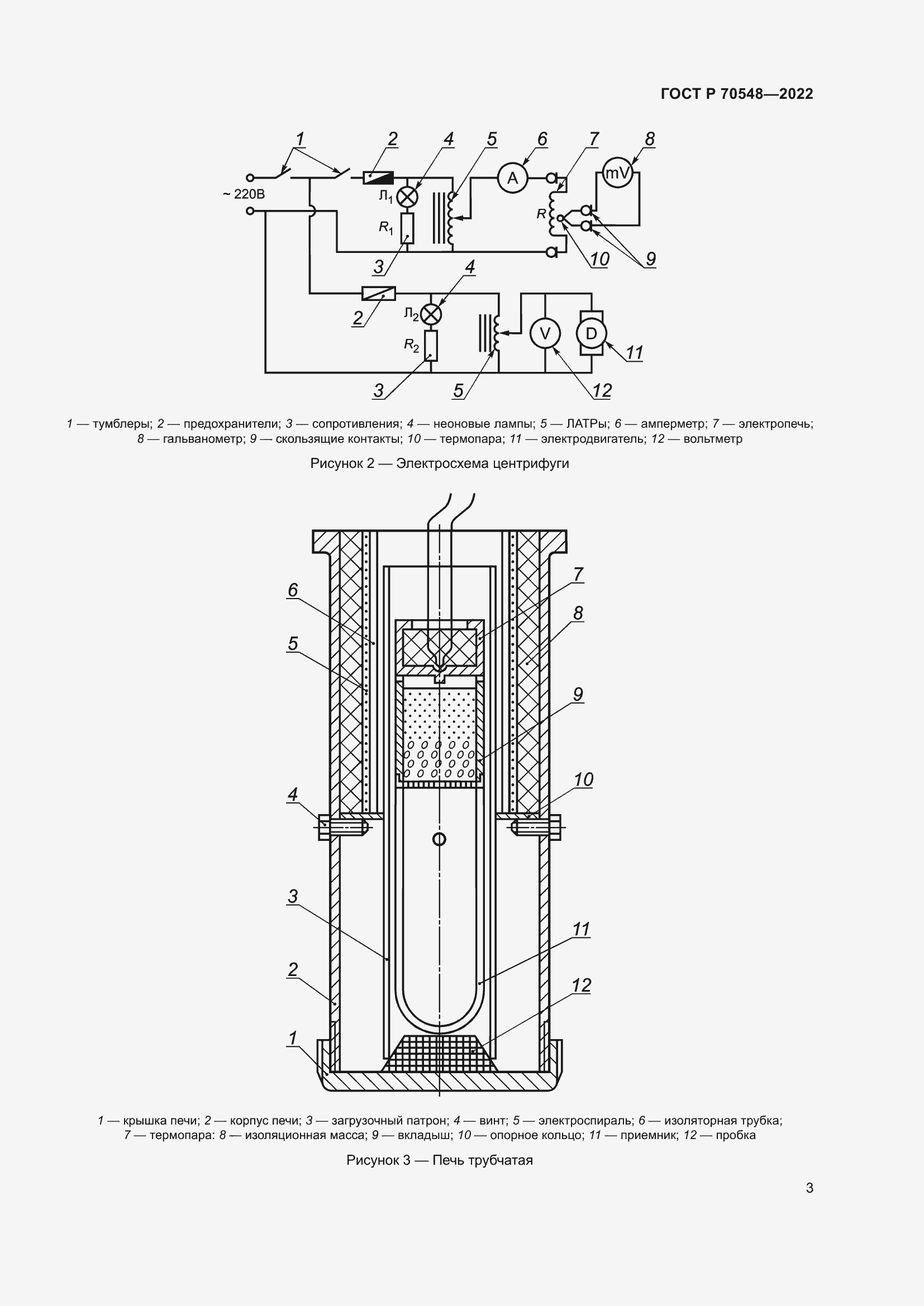
Настоящий стандарт распространяется на каменные угли и устанавливает метод определения выхода продуктов термической деструкции угля (жидкоподвижных, твердого остатка, парогазовых и летучих веществ) в период пластичности под действием центробежной силы. Метод основан на нагревании угля в загрузочном патроне трубчатой электропечи центрифуги с одновременным отфильтровыванием жидкоподвижных продуктов термической деструкции в момент их образования
Связи и замены
Заменяющий:
-
Описание стандарта
ГОСТ Р 70548-2022 Угли каменные. Метод определения выхода жидкоподвижных продуктов из пластической массы угля
Страницы стандарта











