ГОСТ 26135-84 Окатыши железорудные. Метод определения набухания при восстановлении
ГОСТ
Скачать ГОСТ в PDF или DOC бесплатно
Основная информация
Обозначение:
ГОСТ 26135-84
Статус:
Действует
Тип:
ГОСТ
Название русское:
Окатыши железорудные. Метод определения набухания при восстановлении
Название английское:
Iron ore pellets. Method for determination of reduction swelling
Даты и сроки
Дата издания:
06-26-84
Дата введения в действие:
01-01-85
Дата завершения срока действия:
-
Применение и описание
Область и условия применения:
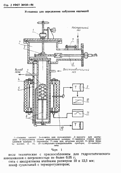
Настоящий стандарт распространяется на железорудные окатыши и устанавливает метод определения набухания при восстановлении
Связи и замены
Заменяющий:
-
Описание стандарта
ГОСТ 26135-84 Окатыши железорудные. Метод определения набухания при восстановлении
Страницы стандарта







