ГОСТ 27446-87 Руды железные, агломераты и окатыши. Метод определения прочности после статического восстановления при низких температурах
ГОСТ
Скачать ГОСТ в PDF или DOC бесплатно
Основная информация
Обозначение:
ГОСТ 27446-87
Статус:
Действует
Тип:
ГОСТ
Название русское:
Руды железные, агломераты и окатыши. Метод определения прочности после статического восстановления при низких температурах
Название английское:
Iron ores, aglomerates and pellets. Method for determination of strength after low-temperature static reduction
Даты и сроки
Дата издания:
12-07-87
Дата введения в действие:
01-01-89
Дата завершения срока действия:
-
Применение и описание
Область и условия применения:
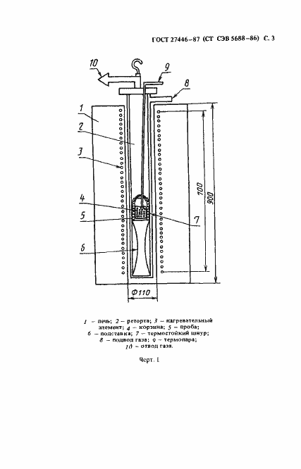
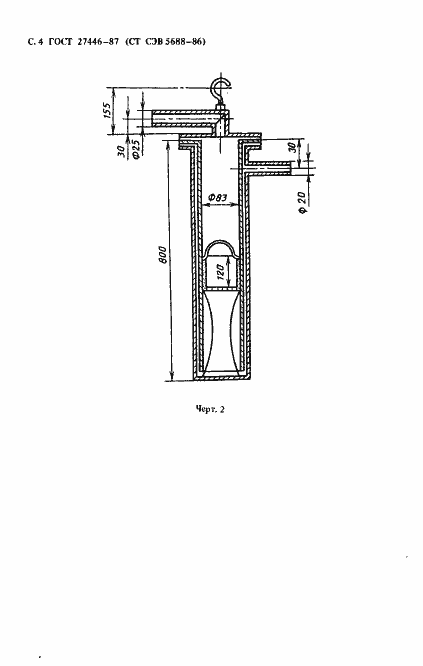
Настоящий стандарт распространяется на железные руды, агломераты и окатыши и устанавливает метод определения прочности руд после восстановления применительно к условиям верхней части доменной печи
Связи и замены
Заменяющий:
-
Описание стандарта
ГОСТ 27446-87 Руды железные, агломераты и окатыши. Метод определения прочности после статического восстановления при низких температурах
Страницы стандарта









