ГОСТ 27562-87 Руды железные, концентраты, агломераты и окатыши. Определение гранулометрического состава методом ситового анализа
ГОСТ
Скачать ГОСТ в PDF или DOC бесплатно
Основная информация
Обозначение:
ГОСТ 27562-87
Статус:
Действует
Тип:
ГОСТ
Название русское:
Руды железные, концентраты, агломераты и окатыши. Определение гранулометрического состава методом ситового анализа
Название английское:
Iron ores, concentrates, sinters and pellets. Determination of size distribution by sieving
Даты и сроки
Дата издания:
02-25-88
Дата введения в действие:
06-30-88
Дата завершения срока действия:
-
Применение и описание
Область и условия применения:
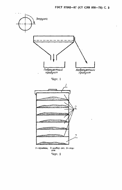
Метод основан на определении количественного распределения зерен железной руды, концентрата, агломерата и окатышей по крупности путем сухого или мокрого рассева на одном или нескольких ситах с последующим взвешиванием полученных классов крупности и вычислением их выхода в процентах к общей массе пробы, взятой для рассева
Связи и замены
Заменяющий:
-
Описание стандарта
ГОСТ 27562-87 Руды железные, концентраты, агломераты и окатыши. Определение гранулометрического состава методом ситового анализа
Страницы стандарта










