ГОСТ 23.223-85 Обеспечение износостойкости изделий. Метод определения триботехнических свойств конструкционных материалов при взаимодействии с волокнистой массой
ГОСТ
Скачать ГОСТ в PDF или DOC бесплатно
Основная информация
Обозначение:
ГОСТ 23.223-85
Статус:
Заменен
Тип:
ГОСТ
Название русское:
Обеспечение износостойкости изделий. Метод определения триботехнических свойств конструкционных материалов при взаимодействии с волокнистой массой
Название английское:
Products wear resistance assurance. Method for determination of tribotechnical properties of construction materials in contact with fibrous material
Даты и сроки
Дата издания:
04-10-85
Дата введения в действие:
06-30-86
Дата завершения срока действия:
07-01-98
Применение и описание
Область и условия применения:
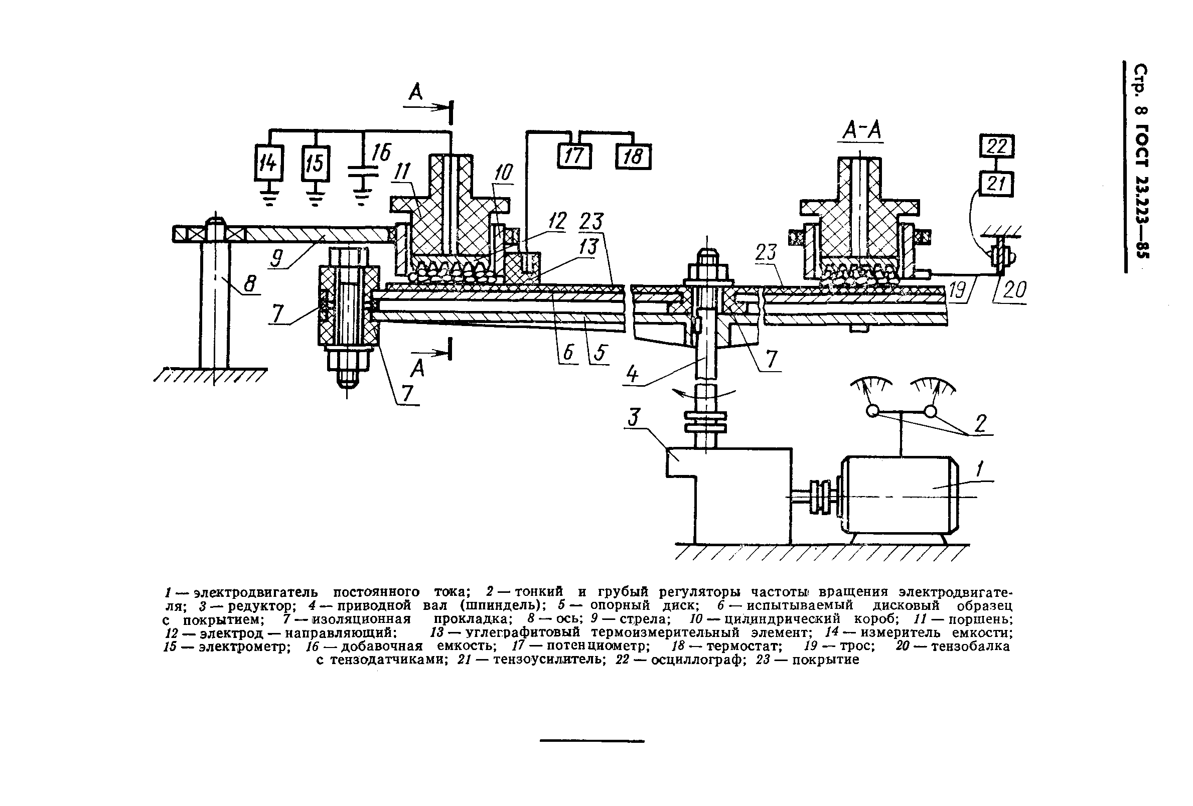
Настоящий стандарт распространяется на металлические и неметаллические материалы и покрытия и устанавливает метод определения триботехнических свойств - сил трения, предельно допустимых нагрузок и скоростей скольжения при взаимодействии с волокнистым материалом, например, хлопка-сырца
Связи и замены
Заменяющий:
ГОСТ 23.223-97
Описание стандарта
ГОСТ 23.223-85 Обеспечение износостойкости изделий. Метод определения триботехнических свойств конструкционных материалов при взаимодействии с волокнистой массой
Страницы стандарта










