ГОСТ 11446-75 Перфораторы переносные. Хвостовики буровых штанг и гнезда для них. Типы и размеры
ГОСТ
Скачать ГОСТ в PDF или DOC бесплатно
Основная информация
Обозначение:
ГОСТ 11446-75
Статус:
Действует
Тип:
ГОСТ
Название русское:
Перфораторы переносные. Хвостовики буровых штанг и гнезда для них. Типы и размеры
Название английское:
Portable rock drills. Drill rod shanks and chucks. Types and dimensions
Даты и сроки
Дата издания:
02-23-76
Дата введения в действие:
01-01-77
Дата завершения срока действия:
-
Применение и описание
Область и условия применения:
Настоящий стандарт распространяется на хвостовики буровых штанг и гнезда для них в ручных перфораторах
Связи и замены
Заменяющий:
-
Взамен:
ГОСТ 11446-65
Изменения и переиздания
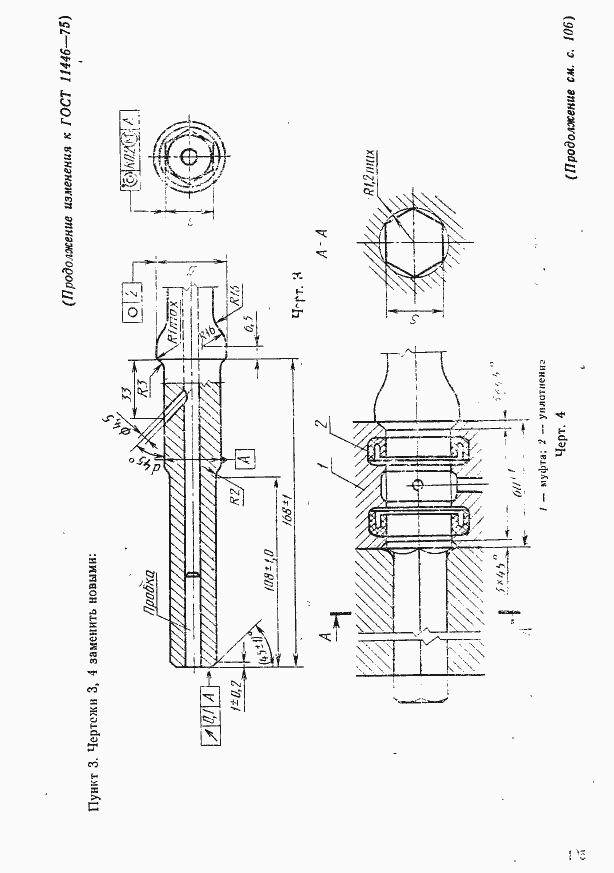
Список изменений:
№1 от (рег. ) «Поправка»
Описание стандарта
ГОСТ 11446-75 Перфораторы переносные. Хвостовики буровых штанг и гнезда для них. Типы и размеры
Страницы стандарта







