ГОСТ 8483-81 Метчики ловильные геологоразведочные. Технические условия
ГОСТ
Скачать ГОСТ в PDF или DOC бесплатно
Основная информация
Обозначение:
ГОСТ 8483-81
Статус:
Действует
Тип:
ГОСТ
Название русское:
Метчики ловильные геологоразведочные. Технические условия
Название английское:
Fishing tap. Technical conditions
Даты и сроки
Дата издания:
05-19-81
Дата введения в действие:
01-01-82
Дата завершения срока действия:
-
Применение и описание
Область и условия применения:
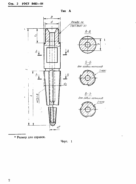
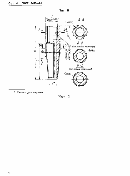
Настоящий стандарт распространяется на ловильные промывные метчики, предназначенные для извлечения оставшихся в скважинах при геологоразведочном бурении стальных труб ниппельного соединения диаметрами 32; 33,5; 38; 42; 50; 54; 68 мм; муфтовозамкового соединения диаметрами 42; 50 и 63,5 мм; бурильных труб КССК-76; ССК-46; ССК-59; ССК-76; утяжеленных бурильных труб диаметрами 73 и 89 мм; двойной колонны для бурения с гидротранспортом керна; обсадных, колонковых, двойных колонковых труб диаметрами 34; 44; 57; 73; 89; 108; 127 и 146 мм и переходников, используемых с перечисленными трубами
Связи и замены
Заменяющий:
-
Взамен:
ГОСТ 8483-57
Изменения и переиздания
Список изменений:
№1 от (рег. ) «Срок действия продлен» №2 от (рег. ) «Срок действия продлен»
Описание стандарта
ГОСТ 8483-81 Метчики ловильные геологоразведочные. Технические условия
Страницы стандарта




















