ГОСТ 31558-2012 Конвейеры шахтные ленточные. Общие технические условия
ГОСТ
Скачать ГОСТ в PDF или DOC бесплатно
Основная информация
Обозначение:
ГОСТ 31558-2012
Статус:
Действует
Тип:
ГОСТ
Название русское:
Конвейеры шахтные ленточные. Общие технические условия
Название английское:
Mine belt conveyers. General specifications
Даты и сроки
Дата регистрации:
05-24-12
Дата издания:
08-30-13
Дата введения в действие:
01-01-14
Дата завершения срока действия:
-
Применение и описание
Область и условия применения:
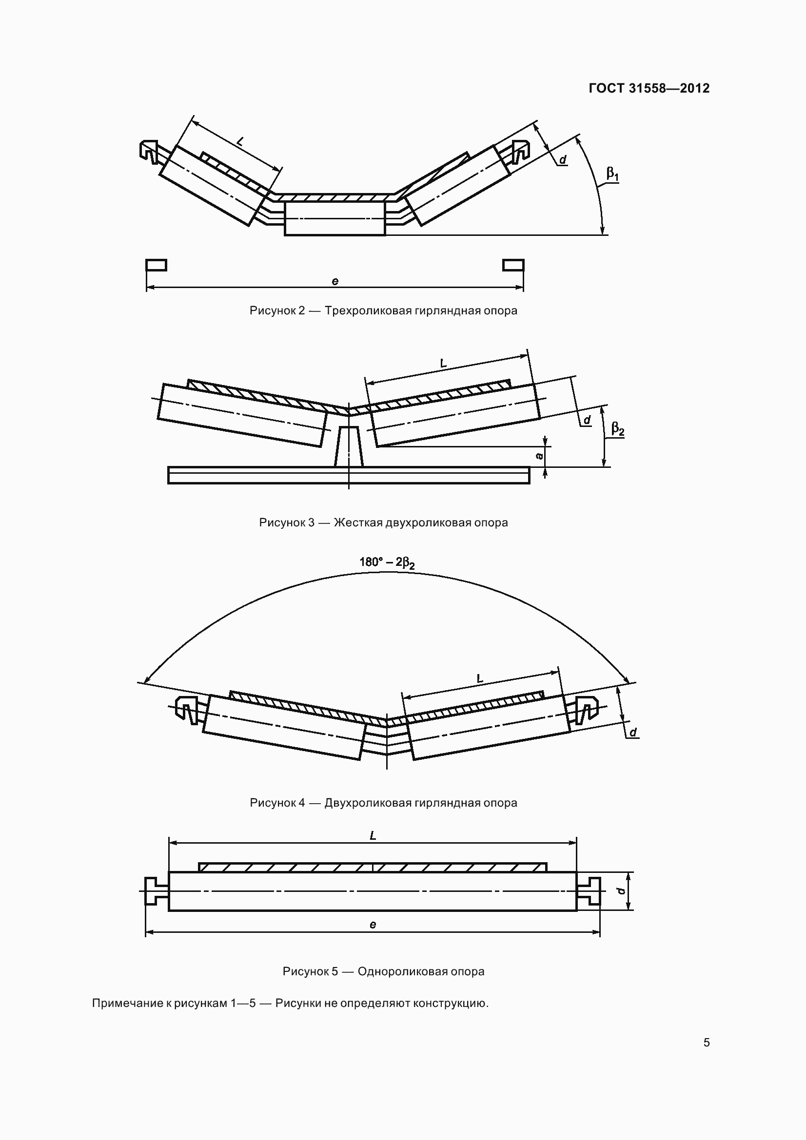
Настоящий стандарт распространяется на шахтные ленточные конвейеры, предназначенные для транспортирования горной массы и перевозки людей по горным выработкам с углами наклона от минус 25° до плюс 25° в следующих условиях: - шахты (рудники) всех категорий, включая опасные по газу или пыли; - атмосфера типа 1 по ГОСТ 15150 при запыленности воздуха не более 200 мг/м куб; - относительная влажность при температуре 25 °С не более 98 %; - высота над уровнем моря не более 1000 м; - колебания напряжения питающей сети от минус 15 % до плюс 10 % номинального значения
Связи и замены
Заменяющий:
-
Описание стандарта
ГОСТ 31558-2012 Конвейеры шахтные ленточные. Общие технические условия
Страницы стандарта






















Приложение №1: Поправка к ГОСТ 31558-2012 Обозначение: Поправка к ГОСТ 31558-2012 Дата введения в действие: 14.03.2022

Приложение №2: Поправка к ГОСТ 31558-2012 Обозначение: Поправка к ГОСТ 31558-2012 Дата введения в действие: 29.06.2022
