ГОСТ 30319.3-2015 Газ природный. Методы расчета физических свойств. Вычисление физических свойств на основе данных о компонентном составе
ГОСТ
Скачать ГОСТ в PDF или DOC бесплатно
Основная информация
Обозначение:
ГОСТ 30319.3-2015
Статус:
Действует
Тип:
ГОСТ
Название русское:
Газ природный. Методы расчета физических свойств. Вычисление физических свойств на основе данных о компонентном составе
Название английское:
Natural gas. Methods of calculation of physical properties. Calculation of physical properties on base information on component composition
Даты и сроки
Дата регистрации:
08-27-15
Дата издания:
02-08-16
Дата введения в действие:
01-01-17
Дата завершения срока действия:
-
Применение и описание
Область и условия применения:
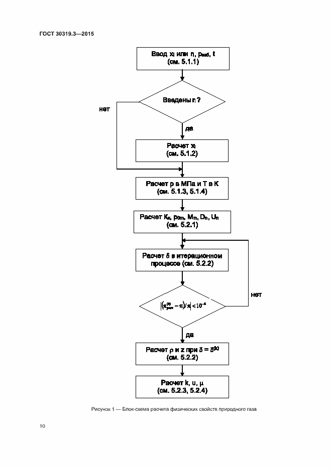
Настоящий стандарт предназначен для расчета коэффициента сжимаемости, плотности, показателя адиабаты, коэффициента динамической вязкости природного газа и скорости распространения звука в среде природного газа по измеренным значениям давления, температуры и молярных долей компонентов природного газа
Связи и замены
Заменяющий:
-
Взамен:
ГОСТ 30319.3-96
Изменения и переиздания
Список изменений:
№0 от (рег. ) «Дата введения перенесена»
Описание стандарта
ГОСТ 30319.3-2015 Газ природный. Методы расчета физических свойств. Вычисление физических свойств на основе данных о компонентном составе
Страницы стандарта
































Приложение №1: Поправка к ГОСТ 30319.3-2015 Обозначение: Поправка к ГОСТ 30319.3-2015 Дата введения в действие: 20.01.2017
