ГОСТ 26378.1-84 Нефтепродукты отработанные. Метод определения воды
ГОСТ
Скачать ГОСТ в PDF или DOC бесплатно
Основная информация
Обозначение:
ГОСТ 26378.1-84
Статус:
Заменен
Тип:
ГОСТ
Название русское:
Нефтепродукты отработанные. Метод определения воды
Название английское:
Used petroleum products. Method for the determination of water
Даты и сроки
Дата издания:
02-01-06
Дата введения в действие:
01-01-87
Дата завершения срока действия:
01-01-17
Применение и описание
Область и условия применения:
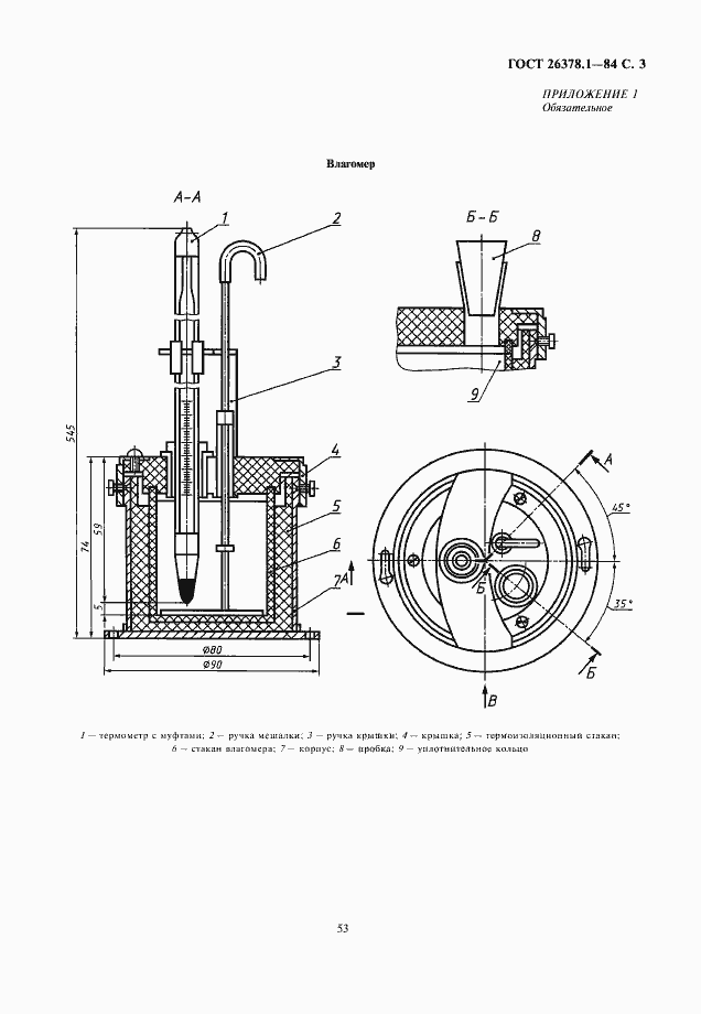
Настоящий стандарт устанавливает метод определения воды. Сущность метода заключается в определении теплового эффекта реакции гидратации сернокислой меди с водой, содержащейся в отработанном нефтепродукте
Связи и замены
Заменяющий:
ГОСТ 26378.1-2015
Изменения и переиздания
Список изменений:
№1 от (рег. ) «Срок действия продлен»
Описание стандарта
ГОСТ 26378.1-84 Нефтепродукты отработанные. Метод определения воды
Страницы стандарта




