ГОСТ ISO 2719-2017 Нефтепродукты и другие жидкости. Определение температуры вспышки. Методы с применением прибора Пенски-Мартенса с закрытым тиглем
ГОСТ ИСО
Скачать ГОСТ в PDF или DOC бесплатно
Основная информация
Обозначение:
ГОСТ ISO 2719-2017
Статус:
Действует
Тип:
ГОСТ ИСО
Название русское:
Нефтепродукты и другие жидкости. Определение температуры вспышки. Методы с применением прибора Пенски-Мартенса с закрытым тиглем
Название английское:
Oil products and other liquils. Determination of flash point. Pensky-Martens closed cup methods
Даты и сроки
Дата регистрации:
07-30-17
Дата издания:
11-20-18
Дата введения в действие:
01-01-19
Применение и описание
Область и условия применения:
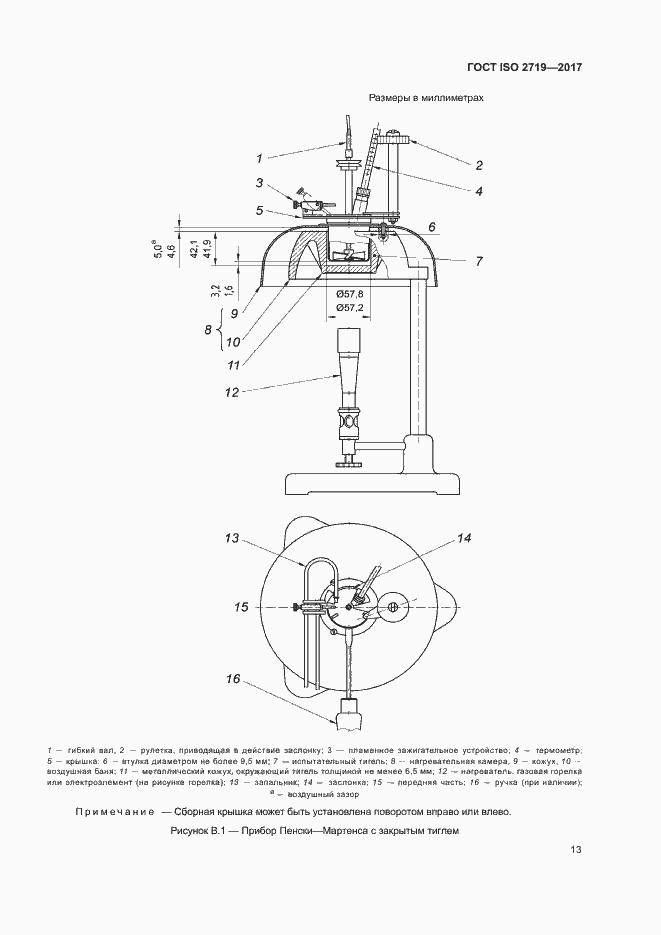
Настоящий стандарт устанавливает три метода определения температуры вспышки (А, В и C) с использованием прибора Пенски-Мартенса с закрытым тиглем горючих жидкостей, в том числе жидкостей со взвешенными твердыми частицами, жидкостей, склонных к образованию поверхностной пленки в условиях испытания, дизельного биотоплива и других жидкостей с температурой вспышки в диапазоне от 40 °С до 370 °C
Связи и замены
Взамен:
ГОСТ ISO 2719-2013
Описание стандарта
ГОСТ ISO 2719-2017 Нефтепродукты и другие жидкости. Определение температуры вспышки. Методы с применением прибора Пенски-Мартенса с закрытым тиглем
Страницы стандарта



























Приложение №1: Поправка к ГОСТ ISO 2719-2017 Обозначение: Поправка к ГОСТ ISO 2719-2017 Дата введения в действие: 14.08.2019
