ГОСТ 981-75 Масла нефтяные. Метод определения стабильности против окисления
ГОСТ
Скачать ГОСТ в PDF или DOC бесплатно
Основная информация
Обозначение:
ГОСТ 981-75
Статус:
Действует
Тип:
ГОСТ
Название русское:
Масла нефтяные. Метод определения стабильности против окисления
Название английское:
Mineral oils. Method for determination of oxidation stability
Даты и сроки
Дата издания:
03-01-06
Дата введения в действие:
06-30-76
Дата завершения срока действия:
-
Применение и описание
Область и условия применения:
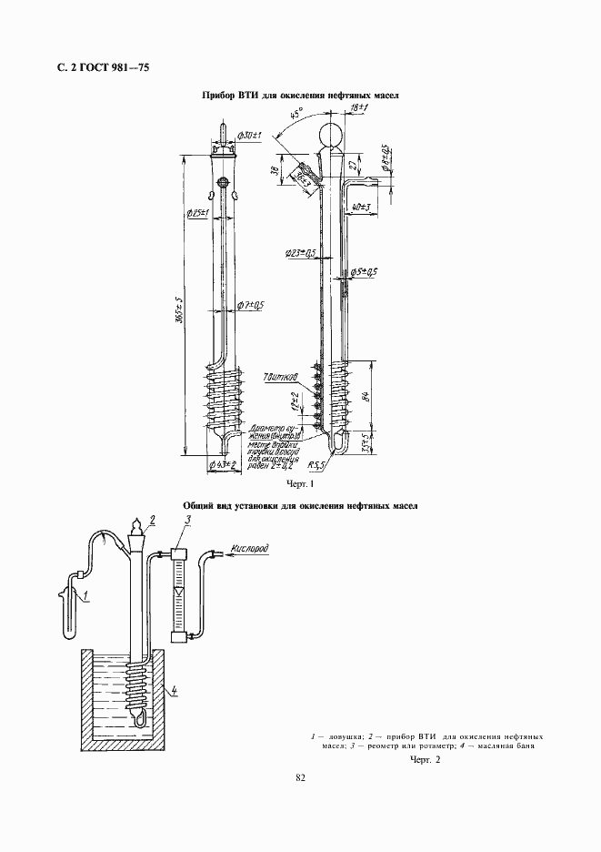
Настоящий стандарт распространяется на нефтяные масла с присадками и без присадок и устанавливает метод определения стабильности против окисления трансформаторных, турбинных и других нефтяных масел
Связи и замены
Заменяющий:
-
Взамен:
ГОСТ 981-55
Изменения и переиздания
Список изменений:
№0 от (рег. ) «Срок действия продлен» №1 от (рег. ) «Срок действия продлен» №2 от (рег. ) «Срок действия продлен» №3 от (рег. ) «Срок действия продлен» №4 от (рег. ) «Поправка»
Описание стандарта
ГОСТ 981-75 Масла нефтяные. Метод определения стабильности против окисления
Страницы стандарта






