ГОСТ Р МЭК 60247-2013 Жидкости изоляционные. Определение относительной диэлектрической проницаемости, тангенса угла диэлектрических потерь (tg delta) и удельного сопротивления при постоянном токе
ГОСТ Р МЭК
Скачать ГОСТ в PDF или DOC бесплатно
Основная информация
Обозначение:
ГОСТ Р МЭК 60247-2013
Статус:
Действует
Тип:
ГОСТ Р МЭК
Название русское:
Жидкости изоляционные. Определение относительной диэлектрической проницаемости, тангенса угла диэлектрических потерь (tg delta) и удельного сопротивления при постоянном токе
Название английское:
Insulating liquids. Measurement of relative permittivity, dielectric dissipation factor (tan d) and d.c. resistivity
Даты и сроки
Дата издания:
11-27-19
Дата введения в действие:
01-01-14
Дата завершения срока действия:
-
Применение и описание
Область и условия применения:
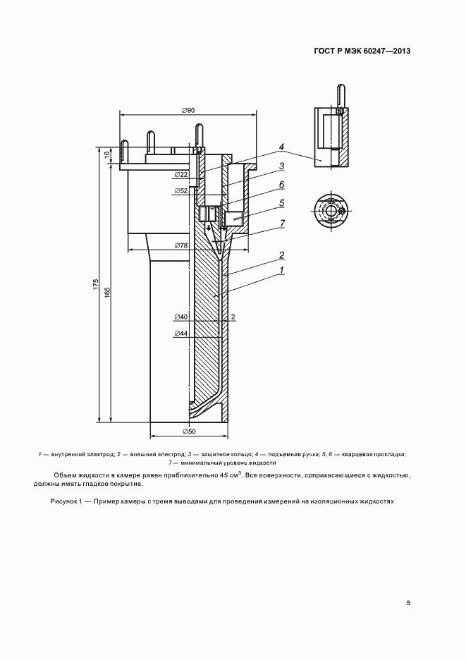
Настоящий стандарт устанавливает определения относительной диэлектрической проницаемости, тангенса угла диэлектрических потерь (tg delta) и удельного сопротивления при постоянном токе любых жидких изоляционных материалов при температуре испытания. Настоящие методы предназначены для проведения эталонных испытаний неиспользованных жидкостей. Они также могут быть применены для жидкостей, используемых в трансформаторах, кабелях и другом электрооборудовании. Однако методы применимы только для однофазной жидкости. Для проведения ежедневных испытаний могут быть использованы упрощенные процедуры. Для изоляционных жидкостей, не являющихся углеводородными, могут потребоваться альтернативные процедуры очистки
Связи и замены
Заменяющий:
-
Описание стандарта
ГОСТ Р МЭК 60247-2013 Жидкости изоляционные. Определение относительной диэлектрической проницаемости, тангенса угла диэлектрических потерь (tg delta) и удельного сопротивления при постоянном токе
Страницы стандарта























