ГОСТ 10089-89 Кокс каменноугольный. Метод определения реакционной способности
ГОСТ
Скачать ГОСТ в PDF или DOC бесплатно
Основная информация
Обозначение:
ГОСТ 10089-89
Статус:
Заменен
Тип:
ГОСТ
Название русское:
Кокс каменноугольный. Метод определения реакционной способности
Название английское:
Coal coke. Method for measurement of reactivity
Даты и сроки
Дата издания:
08-30-89
Дата введения в действие:
06-30-90
Дата завершения срока действия:
02-01-24
Применение и описание
Область и условия применения:
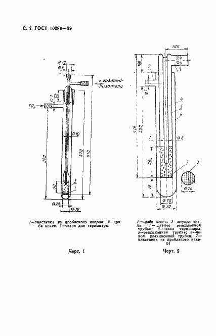
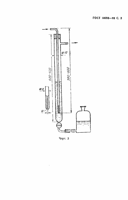
Настоящий стандарт распространяется на высокотемпературный каменноугольный кокс и устанавливает гозообъемный метод определения реакционной способности по отношению к диоксиду углерода
Связи и замены
Заменяющий:
ГОСТ 10089-2023
Взамен:
ГОСТ 10089-73
Описание стандарта
ГОСТ 10089-89 Кокс каменноугольный. Метод определения реакционной способности
Страницы стандарта













