ГОСТ 1567-83 Топливо моторное. Метод определения фактических смол
ГОСТ
Скачать ГОСТ в PDF или DOC бесплатно
Основная информация
Обозначение:
ГОСТ 1567-83
Статус:
Заменен
Тип:
ГОСТ
Название русское:
Топливо моторное. Метод определения фактических смол
Название английское:
Motor fuel. Method for determination of existent gums
Даты и сроки
Дата издания:
08-16-83
Дата введения в действие:
01-01-84
Дата завершения срока действия:
07-01-99
Применение и описание
Область и условия применения:
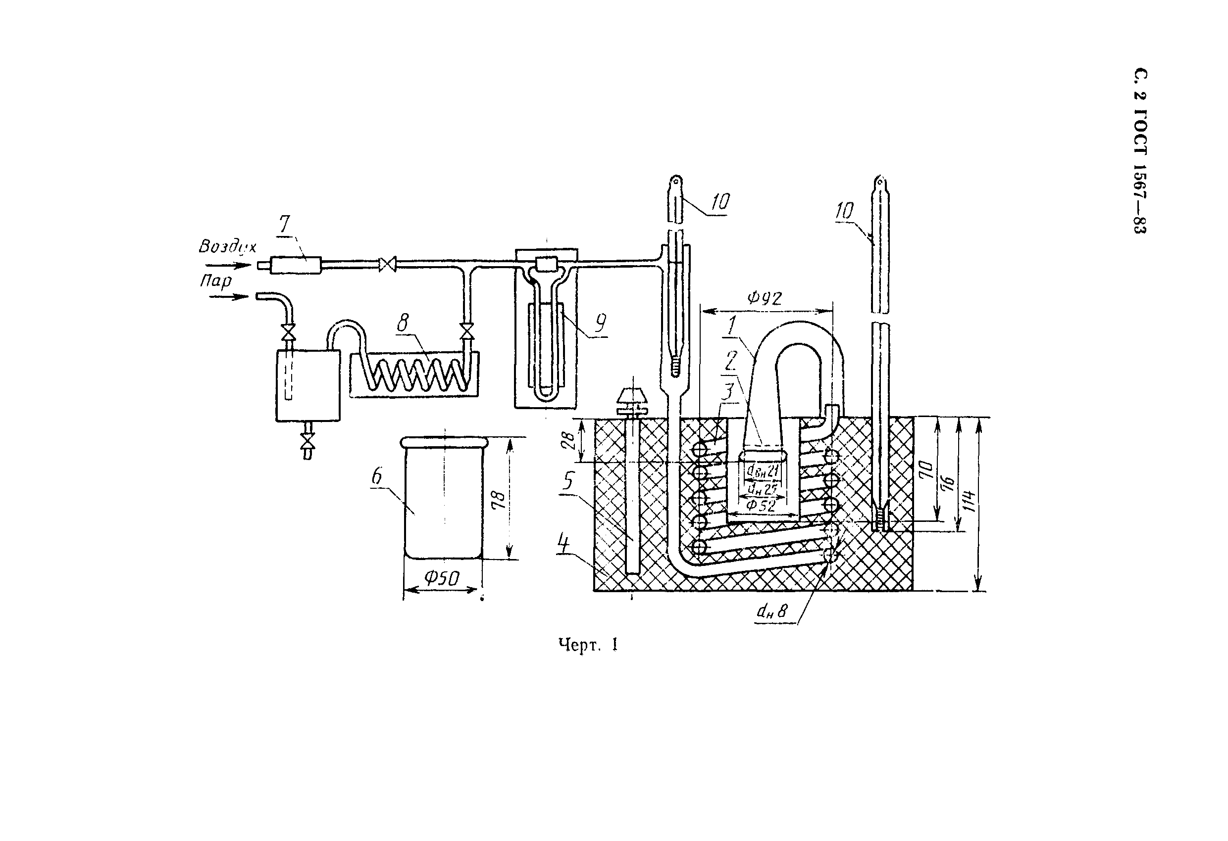
Настоящий стандарт устанавливает метод определения фактических смол авиационных и автомобильных бензинов, а также топлив для турбореактивных двигателей. Метод заключается в испарении испытуемого продукта при заданных температуре и расходе воздуха или водяного пара и определении массы остатка после испарения авиационных бензинов и топлив для турбореактивных двигателей и определении массы остатка после экстрагирования н-гептаном автомобильных бензинов
Связи и замены
Заменяющий:
ГОСТ 1567-97
Взамен:
ГОСТ 1567-56
Изменения и переиздания
Список изменений:
№0 от (рег. ) «Срок действия продлен»
Описание стандарта
ГОСТ 1567-83 Топливо моторное. Метод определения фактических смол
Страницы стандарта








