ГОСТ 3168-93 Топливо твердое минеральное. Методы определения выхода продуктов полукоксования
ГОСТ
Скачать ГОСТ в PDF или DOC бесплатно
Основная информация
Обозначение:
ГОСТ 3168-93
Статус:
Действует
Тип:
ГОСТ
Название русское:
Топливо твердое минеральное. Методы определения выхода продуктов полукоксования
Название английское:
Solid mineral fuels. Methods for determination of the yield of products by low temperature distillation
Даты и сроки
Дата регистрации:
10-21-93
Дата издания:
07-27-95
Дата введения в действие:
01-01-95
Дата завершения срока действия:
-
Применение и описание
Область и условия применения:
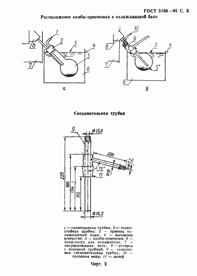
Настоящий стандарт распространяется на бурые и каменные угли, лигниты, горючие сланцы и торф и устанавливает два метода определения выхода смолы, пирогенетической воды, полукокса и газа при полукоксовании: медленный и ускоренный
Связи и замены
Заменяющий:
-
Взамен:
ГОСТ 3168-66
Описание стандарта
ГОСТ 3168-93 Топливо твердое минеральное. Методы определения выхода продуктов полукоксования
Страницы стандарта



















