ГОСТ 4668-75 Материалы углеродные. Метод измерения удельного электрического сопротивления порошка
ГОСТ
Скачать ГОСТ в PDF или DOC бесплатно
Основная информация
Обозначение:
ГОСТ 4668-75
Статус:
Действует
Тип:
ГОСТ
Название русское:
Материалы углеродные. Метод измерения удельного электрического сопротивления порошка
Название английское:
Carbonaceous materials. Method of electrical resistance definition of powder
Даты и сроки
Дата издания:
06-01-77
Дата введения в действие:
01-01-77
Дата завершения срока действия:
-
Применение и описание
Область и условия применения:
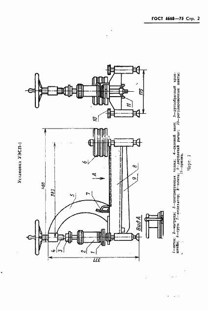
Настоящий стандарт распространяется на каменноугольный, нефтяной, пековый и сланцевый коксы, антрацит, термоантрацит и искусственный графит и устанавливает метод измерений удельного электрического сопротивления в интервале от 10 в степени минус 5 до 10 в степени минус 1 Ом Х м
Связи и замены
Заменяющий:
-
Взамен:
ГОСТ 4668-65
Изменения и переиздания
Список изменений:
№1 от (рег. ) «Срок действия продлен» №2 от (рег. ) «Поправка» №3 от (рег. ) «Срок действия продлен»
Описание стандарта
ГОСТ 4668-75 Материалы углеродные. Метод измерения удельного электрического сопротивления порошка
Страницы стандарта















