ГОСТ Р 55128-2012 Топливо твердое из бытовых отходов. Определение поведения при горении
ГОСТ Р
Скачать ГОСТ в PDF или DOC бесплатно
Основная информация
Обозначение:
ГОСТ Р 55128-2012
Статус:
Действует
Тип:
ГОСТ Р
Название русское:
Топливо твердое из бытовых отходов. Определение поведения при горении
Название английское:
Solid recovered fuels. Determination of combustion behaviour
Даты и сроки
Дата издания:
08-01-14
Дата введения в действие:
07-01-14
Дата завершения срока действия:
-
Применение и описание
Область и условия применения:
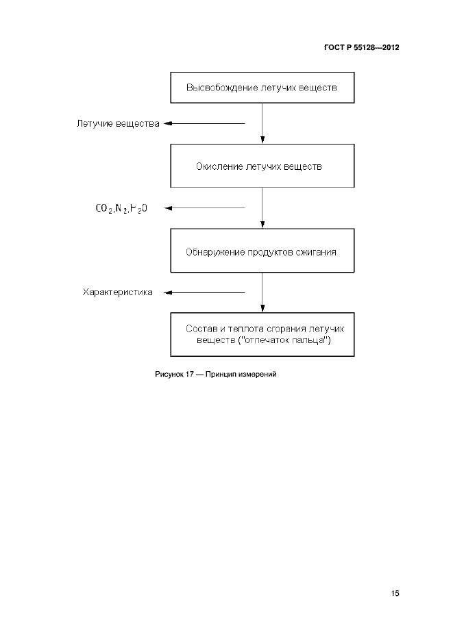
Настоящий стандарт распространяется на все виды твердого топлива из бытовых отходов и устанавливает методы испытаний различных видов твердого топлива из бытовых отходов, в том числе по времени розжига, времени сжигания газовой фазы и времени сжигания угля
Связи и замены
Заменяющий:
-
Описание стандарта
ГОСТ Р 55128-2012 Топливо твердое из бытовых отходов. Определение поведения при горении
Страницы стандарта



































