ГОСТ 13862-90 Оборудование противовыбросовое. Типовые схемы, основные параметры и технические требования к конструкции
ГОСТ
Скачать ГОСТ в PDF или DOC бесплатно
Основная информация
Обозначение:
ГОСТ 13862-90
Статус:
Действует
Тип:
ГОСТ
Название русское:
Оборудование противовыбросовое. Типовые схемы, основные параметры и технические требования к конструкции
Название английское:
Blowout preventer equipment. Tipical schemes, basic parameters and technical construction requirements
Даты и сроки
Дата издания:
09-25-90
Дата введения в действие:
01-01-92
Дата завершения срока действия:
-
Применение и описание
Область и условия применения:
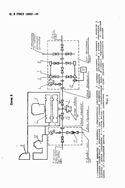
Настоящий стандарт распространяется на вновь разрабатываемое или модернизируемое противовыбросовое оборудоание, предназначенное для герметизации устья нефтяных и газовх скважин в процессе их строительства и ремонта с цель обеспечения безопасного ведениярбот, предупреждения выбросов и откртых фонтанов, охраны недр и окружающей среды
Связи и замены
Заменяющий:
-
Взамен:
ГОСТ 13862-80
Описание стандарта
ГОСТ 13862-90 Оборудование противовыбросовое. Типовые схемы, основные параметры и технические требования к конструкции
Страницы стандарта






















