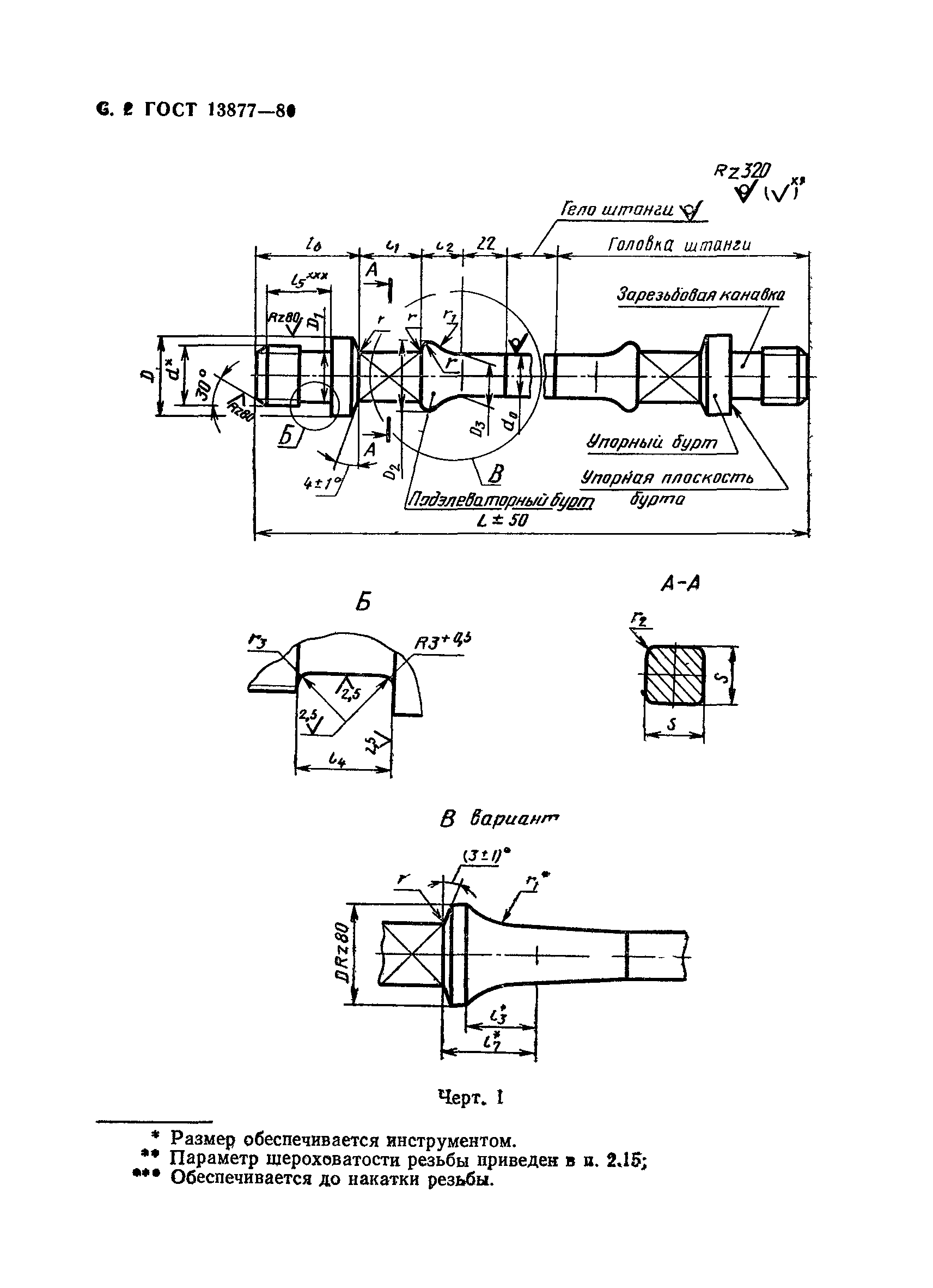
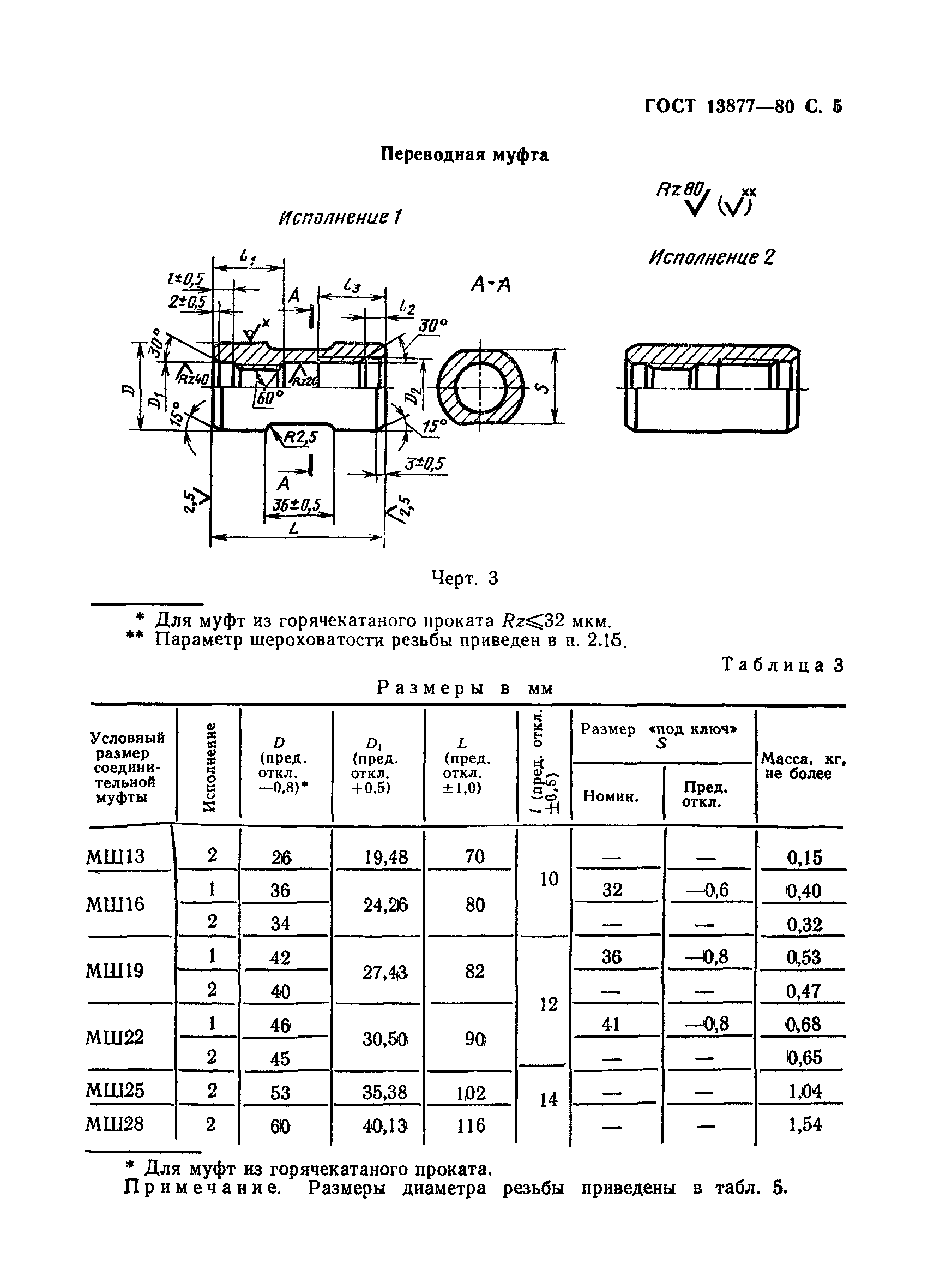
ГОСТ 13877-80 Штанги насосные и муфты к ним. Технические условия
ГОСТ
Скачать ГОСТ в PDF или DOC бесплатно
Основная информация
Обозначение:
ГОСТ 13877-80
Статус:
Заменен
Тип:
ГОСТ
Название русское:
Штанги насосные и муфты к ним. Технические условия
Название английское:
Sucker rods and couplings. Specifications
Даты и сроки
Дата издания:
05-01-93
Дата введения в действие:
01-01-81
Дата завершения срока действия:
01-01-00
Связи и замены
Заменяющий:
ГОСТ 13877-96
Взамен:
ГОСТ 13877-68
Изменения и переиздания
Список изменений:
№1 от (рег. ) «Срок действия продлен» №2 от (рег. ) «Срок действия продлен» №3 от (рег. ) «Срок действия продлен» №4 от (рег. ) «Срок действия продлен» №5 от (рег. ) «Срок действия продлен»
Описание стандарта
ГОСТ 13877-80 Штанги насосные и муфты к ним. Технические условия
Страницы стандарта
































