ГОСТ 7360-82 Переводники для бурильных колонн. Технические условия
ГОСТ
Скачать ГОСТ в PDF или DOC бесплатно
Основная информация
Обозначение:
ГОСТ 7360-82
Статус:
Заменен
Тип:
ГОСТ
Название русское:
Переводники для бурильных колонн. Технические условия
Название английское:
Drill-rod for substitutes. Specifications
Даты и сроки
Дата издания:
03-26-82
Дата введения в действие:
01-01-83
Дата завершения срока действия:
08-01-16
Применение и описание
Область и условия применения:
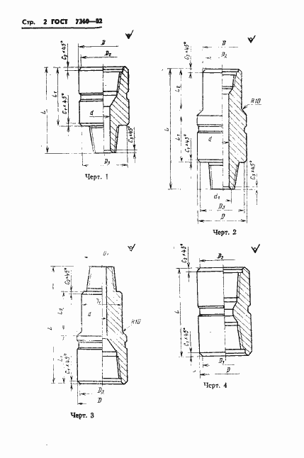
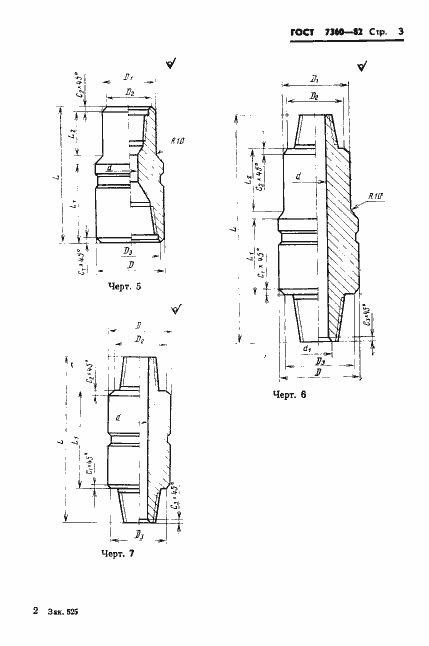
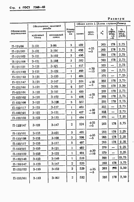
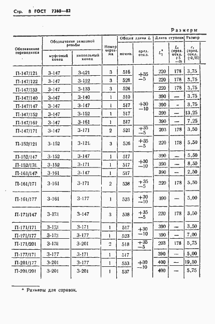
Настоящий стандарт распространяется на переводники для соединения между собой частей бурильной колонны и присоединения к ней инструмента, применяемого при бурении скважин, изготовляемые для нужд народного хозяйства и для экспорта
Связи и замены
Заменяющий:
ГОСТ 7360-2015
Взамен:
ГОСТ 7360-75
Изменения и переиздания
Список изменений:
№1 от (рег. ) «Срок действия продлен»
Описание стандарта
ГОСТ 7360-82 Переводники для бурильных колонн. Технические условия
Страницы стандарта






























