ГОСТ 22706-77 Металлы. Метод испытания на растяжение при температурах от минус 100 до минус 269°С
ГОСТ
Скачать ГОСТ в PDF или DOC бесплатно
Основная информация
Обозначение:
ГОСТ 22706-77
Статус:
Действует
Тип:
ГОСТ
Название русское:
Металлы. Метод испытания на растяжение при температурах от минус 100 до минус 269°С
Название английское:
Metals. Method for tension tests at the temperature - 100 up to - 269 °C
Даты и сроки
Дата издания:
08-01-00
Дата введения в действие:
01-01-79
Дата завершения срока действия:
-
Применение и описание
Область и условия применения:
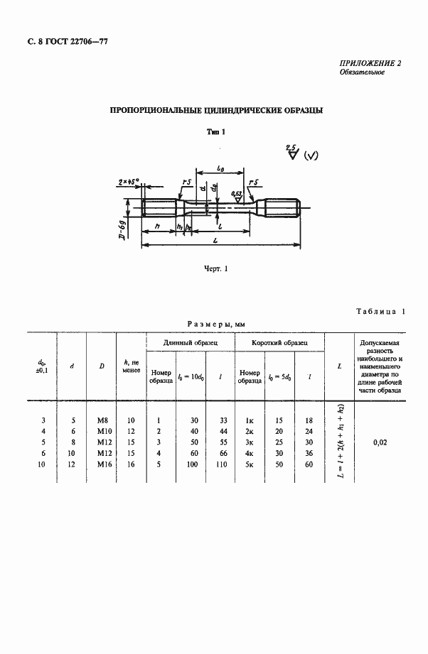
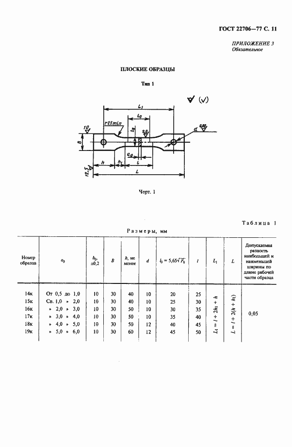
Настоящий стандарт распространяется на черные и цветные металлы, сплавы и изделия из них и устанавливает метод статического испытания на растяжение для определения при температурах от минус 100 до минус 269 град. С следующих механических характеристик: - предела пропорциональности; - предела упругости; - предела текучести физического; - предела текучести условного; - временного сопротивления; - относительного равномерного удлинения; - относительного удлинения после разрыва; - относительного сужения поперечного сечения после разрыва. Стандарт не устанавливает метод статического испытания на растяжение проволоки, труб, листового металла и ленты толщиной менее 0,5 мм
Связи и замены
Заменяющий:
-
Изменения и переиздания
Список изменений:
№1 от (рег. ) «Срок действия продлен»
Описание стандарта
ГОСТ 22706-77 Металлы. Метод испытания на растяжение при температурах от минус 100 до минус 269°С
Страницы стандарта


















