ГОСТ 26007-83 Расчеты и испытания на прочность. Методы механических испытаний металлов. Методы испытания на релаксацию напряжений
ГОСТ
Скачать ГОСТ в PDF или DOC бесплатно
Основная информация
Обозначение:
ГОСТ 26007-83
Статус:
Действует
Тип:
ГОСТ
Название русское:
Расчеты и испытания на прочность. Методы механических испытаний металлов. Методы испытания на релаксацию напряжений
Название английское:
Design, calculation and strength testing. Methods of mechanical testing of metals. Methods for stress relaxation testing
Даты и сроки
Дата издания:
03-26-84
Дата введения в действие:
01-01-85
Дата завершения срока действия:
-
Применение и описание
Область и условия применения:
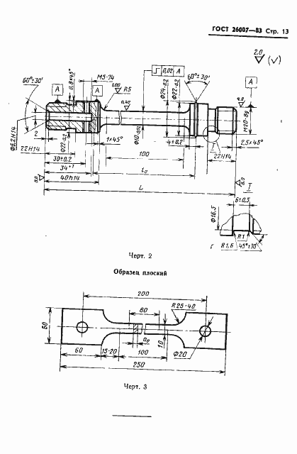
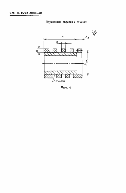
Настоящий стандарт устанавливает методы испытаний на релаксацию напряжений при температуре до 1200 град. С при растяжении, изгибе и кручении черных и цветных металлов и сплавов.Настоящий стандарт не распространяется на элементы конструкций машин, приборов и аппаратов
Связи и замены
Заменяющий:
-
Описание стандарта
ГОСТ 26007-83 Расчеты и испытания на прочность. Методы механических испытаний металлов. Методы испытания на релаксацию напряжений
Страницы стандарта



















