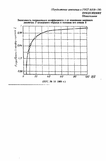
ГОСТ 9.019-74 Единая система защиты от коррозии и старения. Сплавы алюминиевые и магниевые. Методы ускоренных испытаний на коррозионное растрескивание
ГОСТ
Скачать ГОСТ в PDF или DOC бесплатно
Основная информация
Обозначение:
ГОСТ 9.019-74
Статус:
Действует
Тип:
ГОСТ
Название русское:
Единая система защиты от коррозии и старения. Сплавы алюминиевые и магниевые. Методы ускоренных испытаний на коррозионное растрескивание
Название английское:
Unified system of corrosion and ageing protection. Alluminium and magnesium alloys. Accelerated test methods for corrosion crocking
Даты и сроки
Дата издания:
11-01-81
Дата введения в действие:
01-01-75
Дата завершения срока действия:
-
Применение и описание
Область и условия применения:
Настоящий стандарт распространяется на алюминиевые и магниевые сплавы без защитных покрытий и устанавливает методы ускоренных испытаний на коррозионное растрексивание
Связи и замены
Заменяющий:
ГОСТ 9.920-2024
Изменения и переиздания
Список изменений:
№1 от (рег. ) «Срок действия продлен» №2 от (рег. ) «Срок действия продлен»
Описание стандарта
ГОСТ 9.019-74 Единая система защиты от коррозии и старения. Сплавы алюминиевые и магниевые. Методы ускоренных испытаний на коррозионное растрескивание
Страницы стандарта























