ГОСТ 22536.2-87 Сталь углеродистая и чугун нелегированный. Методы определения серы
ГОСТ
Скачать ГОСТ в PDF или DOC бесплатно
Основная информация
Обозначение:
ГОСТ 22536.2-87
Статус:
Действует
Тип:
ГОСТ
Название русское:
Сталь углеродистая и чугун нелегированный. Методы определения серы
Название английское:
Carbon steel and unalloyed cast iron. Methods for determination of sulphur
Даты и сроки
Дата издания:
06-15-87
Дата введения в действие:
01-01-88
Дата завершения срока действия:
-
Применение и описание
Область и условия применения:
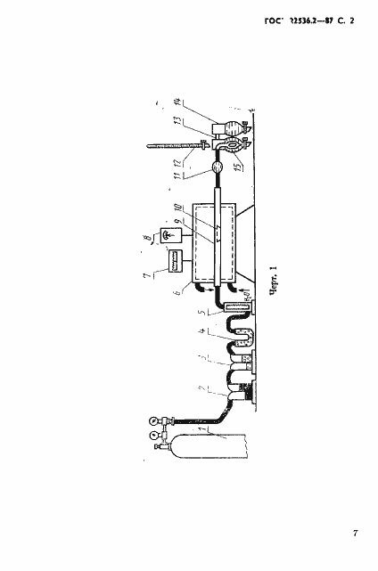
Настоящий стандарт устанавливает титриметрический, кулонометрический методы и метод инфракрасной спектроскопии определения серы в углеродистой стали и нелегированном чугуне при массовой доле от 0,002 до 0,40 %
Связи и замены
Заменяющий:
-
Взамен:
ГОСТ 22536.2-77
Изменения и переиздания
Список изменений:
№1 от (рег. ) «Срок действия продлен»
Описание стандарта
ГОСТ 22536.2-87 Сталь углеродистая и чугун нелегированный. Методы определения серы
Страницы стандарта












