ГОСТ 12359-81 Стали углеродистые, легированные и высоколегированные. Методы определения азота
ГОСТ
Скачать ГОСТ в PDF или DOC бесплатно
Основная информация
Обозначение:
ГОСТ 12359-81
Статус:
Заменен
Тип:
ГОСТ
Название русское:
Стали углеродистые, легированные и высоколегированные. Методы определения азота
Название английское:
Steels carbon, alloyed and highalloyed. Methods for the determination of nitrogen
Даты и сроки
Дата издания:
01-01-82
Дата введения в действие:
12-01-81
Дата завершения срока действия:
07-01-00
Применение и описание
Область и условия применения:
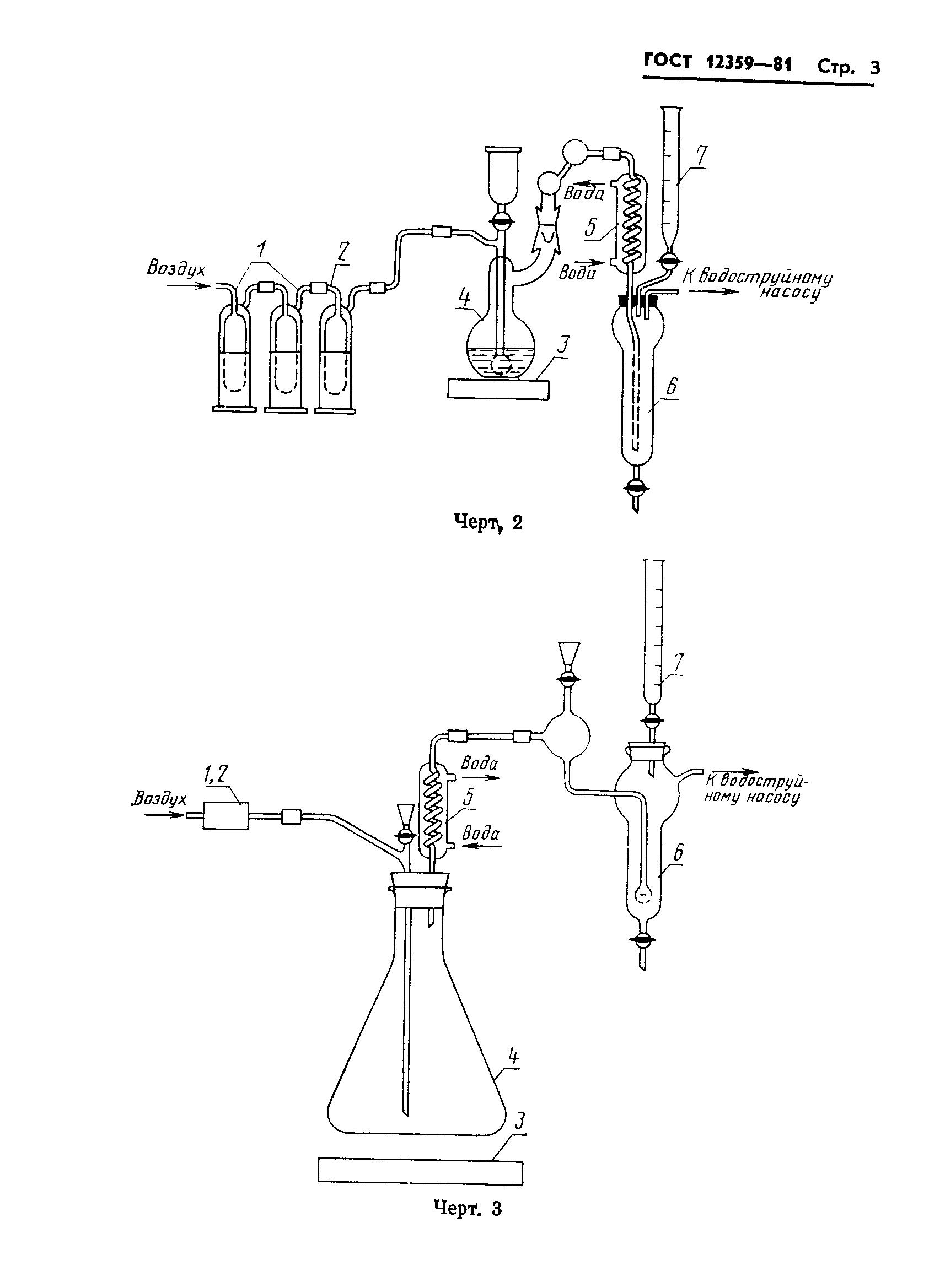
Настоящий стандарт устанавливает фотометрический метод определения азота (при массовой доле азота от 0,002 до 0,02 %), титриметрический метод определения азота (при массовой доле азота от 0,005 до 0,50 %) и метод восстановительного плавления (при массовой доле азота от 0,002 до 0,50 %) в углеродистых, легированных и высоколегированных сталях
Связи и замены
Заменяющий:
ГОСТ 12359-99
Взамен:
ГОСТ 12359-66;ГОСТ 20813-75
Описание стандарта
ГОСТ 12359-81 Стали углеродистые, легированные и высоколегированные. Методы определения азота
Страницы стандарта














