ГОСТ 16698.13-93 Марганец металлический и марганец азотированный. Метод определения азота
ГОСТ
Скачать ГОСТ в PDF или DOC бесплатно
Основная информация
Обозначение:
ГОСТ 16698.13-93
Статус:
Действует
Тип:
ГОСТ
Название русское:
Марганец металлический и марганец азотированный. Метод определения азота
Название английское:
Metallic manganese and nitrated manganese. Method for determination of nitrogen
Даты и сроки
Дата издания:
02-21-95
Дата введения в действие:
06-30-95
Дата завершения срока действия:
-
Применение и описание
Область и условия применения:
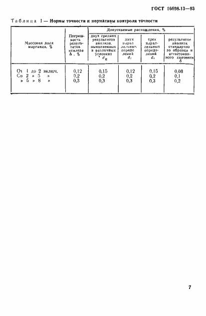
Настоящий стандарт устанавливает титриметрический метод определения азота при массовой доле его в азотированном марганце от 1 до 8%
Связи и замены
Заменяющий:
-
Взамен:
ГОСТ 16698.13-84
Описание стандарта
ГОСТ 16698.13-93 Марганец металлический и марганец азотированный. Метод определения азота
Страницы стандарта










