ГОСТ Р 57135-2016 Ферросплавы. Методы отбора и подготовки проб для количественного химического анализа. Часть 1. Феррохром, ферросиликохром, ферросилиций, ферросиликомарганец, ферромарганец
ГОСТ Р
Скачать ГОСТ в PDF или DOC бесплатно
Основная информация
Обозначение:
ГОСТ Р 57135-2016
Статус:
Действует
Тип:
ГОСТ Р
Название русское:
Ферросплавы. Методы отбора и подготовки проб для количественного химического анализа. Часть 1. Феррохром, ферросиликохром, ферросилиций, ферросиликомарганец, ферромарганец
Название английское:
Ferroalloys. Sampling and sample preparation for chemical analysis. Part 1. Ferrochromium, ferrosilicochromium, ferrosilicon, ferrosilicomanganese, feromanganese
Даты и сроки
Дата издания:
10-26-16
Дата введения в действие:
08-01-17
Дата завершения срока действия:
-
Применение и описание
Область и условия применения:
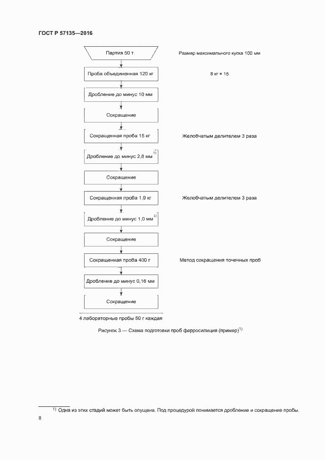
Настоящий стандарт устанавливает методы отбора и подготовки проб для контроля величины показателей качества поставок феррохрома, ферросиликохрома, ферросилиция, ферросиликомарганца, ферромарганца и феррохрома азотированного в брикетах
Связи и замены
Заменяющий:
-
Описание стандарта
ГОСТ Р 57135-2016 Ферросплавы. Методы отбора и подготовки проб для количественного химического анализа. Часть 1. Феррохром, ферросиликохром, ферросилиций, ферросиликомарганец, ферромарганец
Страницы стандарта



















